FLYMORTON WEARABLE BIOMECHANICAL POWERED STATOR ARMATURE ROTARY VACUUM TRANSFORMER ELECTRON BEAM PLASMA SHAFT THERMAL AIR BREATHER THERMOELECTRIC EFFECT REFRIGERATION LIQUID HYDROGEN GENERATOR POWERED BIOMECHATRONIC COMMUTATOR COMMUTATIVE ORTHOPEDIC BIOMETRIC RANGE STATOR REST BIAXIAL ARMATURE ROM ROTARY ESC MOTOR ELECTROMOTIVE HYPERSONIC SOLENOID LINEAR GAS PUMP CHAMBER PISTON EMITS (EB )AUTOIGNITION GAS DETONATION FIRE SPHERICAL OVAL LINEAR FIRE THERMOELECTRIC EFFECT REFRIGERATION PELTIER EFFECT COOLER CYLINDER COMBUSTIBLE BOMB SAMPLER BODY ARMOR BRACE BLEEDER VACUUM SHAFT CYLINDER BLOWER WHEEL THRUST VECTORING subject not limiting to additional system and structure potentiometric inventor Jermaine Morton designed

FLYMORTON

Comments

Popular Posts

ALJ.Hearings@SSA.gov If I could work Minimum wage is $8.75 700$ every two weeks after taxes 691$.6¢ Monthly 1,383.2 Social security administration claims dispute JERMAINE MORTON claims argued that Jermaine Morton can work without getting disability income social security discontinued JERMAINE MORTON'S social security benefits as of May 2025 Social security administration decision discontinues Jermaine Morton social security administration claims jermaine morton is not eligible for social security benefits in no respect or regards or accountability cause by social security administration any Damages of the following social security administration acknowledge their decision that shall effects JERMAINE MORTON lifestyle For example Jermaine Morton only owns 1 pants 1 t-shirt 1 Jean pants 1 pair socks 1 underwear 1 pair sneakers 1 hat 1 bookbag Social security administration acknowledges their decision that discontinues Jermaine Morton social security claims for assistance jermaine morton is not eligible for social security benefits in no respect or regards or accountability cause by social security administration however social security administration suggest made to jermaine morton in writing that he is able to work! Following social security administration decision Social security administration acknowledges in their decision that Jermaine Morton has no source of income banking account and no savings account And no cash jermaine morton acknowledges the impact the decision the social security administration has caused though its final decision action completed effectively without referrals or verbal suggestions for forwarding an assistance the final decision is from or by the social security administration in person or by phone or letter Jermaine Morton must be fully responsible for survival financial expenses or living expenses or any children that are beneficiarys which was receiving a financial fraction of optional by or from jermaine mortons discontinued financial benefits Leaving Jermaine Morton with 0$0¢ Generally, a high school diploma or equivalent (like a GED) is considered the minimum level of education for many entry-level positions at the DOL and in the federal government. This is because it serves as a basic level of education that employers often use as a hiring criteria. Specific Job Requirements: The specific educational requirements will vary depending on the particular job you're applying for. Some roles, particularly those in professional and scientific fields, may require a specific college degree. You should carefully review the job announcement for the specific qualifications needed. Jermaine Morton has an 4th grade education Level Being in and out of detention center at 11 years of age until Jermaine Morton aged 15 years old Jermaine Morton has not attended school until he was 16 years of age 1 suspensions that lead to a total refusal of his mother not signing him back in school Jermaine Morton has attended Coney Island Brooklyn hospital physiatry center from 16years of age until 17 years of age and at the age of 18years old JERMAINE MORTON became homeless in the state of New York City Brooklyn Coney Island now resides In the United States of America within Florida State Jacksonville Duval county at the age of 47 whereas the cost of rapid bus traveling or traveling financial expenses and must take full responsibility of his actions cost of rapid public Transit $1.75 per ride note that jermaine morton has 0$0¢ To not limiting the cost of bus and transfer to an additional bus traveling toward work of $1.75¢+$1.75¢ And from work $1.75¢+$1.75¢ In the amount for 10 days of rapid bus traveling Cost of rapid bus traveling 70$ 3$.50¢ to and from work 3$.50¢=7$ daily for 20days of work=140$ monthly expenses Jermaine Morton acknowledges that he has not saved 0$.0¢ Having no financial income Hourly income 0$.0¢ Daily income 0$.0¢ Monthly income 0$.0¢ Yearly income 0$.0¢ no cash No savings account 0$0¢ Jermaine Morton has no financial support or financial assistance for transportation to and from work or the qualifications in order to get a job Social security administration acknowledges the effects that by decision Jermaine Morton having responsibilities 5 children ages female born 1991~2025 34 years old Male son 1995~2025 30 years old Female daughter 2003~2025 22 years old Male son 2006~2025 19 year's old Female daughter 2010~2025 15 years old Assuring Jermaine Morton social security administration shall not be held to accountability claims or neglect laws following any events leading to any failures of responsibilities effected apon of social security administration decision Rental payments expenses that are bill monthly Child care rental payments expenses that are bill monthly Child care food supply expenses that are bill monthly Child care travel financial expenses that are bill monthly Medical payments financial expenses that are bill monthly Medication payment financial expenses that are bill monthly Phone payment financial expenses that are bill monthly Food supply payment financial expenses that are bill monthly Public rapid Transit financial payment expenses that are bill monthly Clean clothing maintenance financial payment expenses that are bill monthly Cosmetic payment financial financial expenses that are bill monthly Toiletry payment financial expenses that are bill monthly laundry payment financial expenses that are bill monthly Social security administration decision claim they shall not be subject to accountability act or neglect crime apon our decision caused or Damages locked out of rental storage monthly bill unpaid loss of clothing Loss of cosmetic Loss of personal government documents Loss of personal government receits Loss of storage property Loss of patentable material Loss of patent documents Loss of copyright documents Loss of copyrightable material Loss of rare material Loss of Rental storage Loss of Child care rental Loss of Child care food supply Loss of Child care travel Loss of financial benefits child neglect Loss of Medical Loss of Medication Loss of being contacted by Phone Loss of Food supply Loss of Public rapid Transit Loss of Clean clothing Loss of Cosmetic Loss of Toiletry Loss of laundry Loss of Rental Homeless Cause by Social security administration Cancellation social security benefits Social security agent failure contact Jermaine Morton, Social security administration agent Failure to access updated address information Social security administration agent decision neglect accountability cause Damages JERMAINE MORTON has no secondary clothing Jermaine Morton only owns 1 pants 1 t-shirt 1 Jean pants 1 pair socks 1 underwear 1 pair sneakers 1 hat 1 bookbag No permanent address Social security administration written statements Denied jermaine morton disability claim and discontinued his monthly benefits Of 1,610$.0¢ Social security administration agent suggests Jermaine Morton can work without a referral from social security administration records claims that Jermaine Morton has no high school diploma no GED diploma, No long range work history no training or skill no medical benefits, No medical coverage, no other means of income, no relatives local No means of contacting Jermaine Morton or locating jermaine morton has No home or apartment address jermaine morton is considered homeless Jermaine Morton has No clothing and is not allowed to panhandle solicitate help or financial assistance No place of residence not allowed to panhandle solicitate or trespass No food not allowed to panhandle not allowed solicitate not allowed to trespass No water not allowed to panhandle not allowed to solicitate or trespass No medicine not allowed to panhandle not allowed to solicitate or trespass No home or no apartment not allowed to panhandle solicitate or trespass No contact cellular phone operational devices by mean that jermaine morton maybe contacted Jermaine Morton can not connect with any online services No bathhouse or means of bathing not allowed panhandle solicitate or trespass No toilet or wipes paper to keep skin tissue clean or healthy not allowed to solicitate or trespass no place to sleep not allowed on anyone property not allowed to solicitate or trespass No place to rest not allowed on anyone property not allowed to solicitate or trespass No place to stand not allowed on anyone property not allowed to solicitate not allowed to panhandle or trespass Policies against panhandling, or begging for money, often involve restricting where and how begging can occur, rather than banning it outright. Many cities and counties have ordinances that limit panhandling in specific areas, during certain hours, or if it's considered aggressive or disruptive. Restricted areas: Many jurisdictions prohibit panhandling near businesses, ATMs, bus stops, and other public spaces. Time restrictions: Some cities limit panhandling to daylight hours. Permits and licensing: In some cases, panhandlers may be required to obtain permits or licenses. solicitation policy in the workplace defines the rules around employees soliciting or distributing materials to other employees or non-employees. These policies aim to maintain a professional and distraction-free environment, prohibiting activities like selling items, soliciting donations, or distributing political materials during work hours or in work areas. Surface area of the lot boundary in square feet or meters, geographical information system (GIS) map, which is a similar map and is available on government sites as well. It also delineates the legal boundaries of your property. This information should also be located on your property deed trespass in a structure or conveyance is a misdemeanor of the second degree, punishable as provided not been authorized, licensed, or invited, is warned by the owner or lessee of the premises, or by a person authorized by the owner or lessee, to depart and refuses to do so, commits the offense of trespass in a structure or conveyance. (2)(a) Except as otherwise provided in this subsection, trespass in a structure or conveyance is a misdemeanor of the second degree, punishable as provided in s. 775.082 or s. 775.083. (b) If there is a human being in the structure or conveyance at the time the offender trespassed, attempted to trespass, or was in the structure or conveyance, the trespass in a structure or conveyance is a misdemeanor of the first degree, punishable as provided in s. 775.082 Social security administration agent decision of neglect holding no accountability In no respect or regards to standing policies or rules in limitations of case manager's failure to properly assess, Failure to plan, failure to connect with Jermaine Morton needed resources, However social security administration decision to discontinue Jermaine Morton financial or medical benefits can contribute to situations where people are at risk of harm. can Jermaine Morton survive without money. Jermaine Morton Survival depends on various factors like access to food, water, and shelter, all of which typically require money in modern society. Without these necessities, a jermaine morton's health would rapidly deteriorate, and survival would be short-lived. social security agents are case managers that can contribute to situations where neglect occur: failing to provide the necessary care, attention, or support that they require or deserve. It can involve ignoring their needs, disregarding their well-being, or not fulfilling obligations towards them. Neglect can manifest in various ways, including emotional, physical, or financial inadequacies. 1. Failure to Properly Assess Needs: Glucose as Fuel: The brain relies heavily on glucose, a simple sugar, for energy. Unlike other body parts, the brain cannot store glucose, so it needs a constant supply No, the human brain cannot work properly without a steady supply of glucose, its primary fuel source. The brain needs a constant supply of glucose to perform functions like thinking, memory, and learning. Without enough glucose, neurotransmitters, the brain's chemical messengers, are not produced, and communication between brain cells (neurons) breaks down. A social security administration decision failure with no accountability has no adequately assess an individual's needs (physical, emotional, social) may not identify vulnerabilities or risks for example social security administration decision acknowledging that jermaine morton has no other source of income, social security administration Acknowledging that jermaine morton has no other source of food assistance, medical assistance or insurance, no living residents, no bathing resources, no sleep or resting resources, social security administration decision acknowledged the material fact on oath and affidavit. Jermaine Morton is concerned a human being having a mortal body, which has a Brain's Dependence: The brain cannot operate without glucose, as it's the primary fuel source for brain cells (neurons) and the production of neurotransmitters. Glucose and Brain Function: Brain functions like thinking, memory, and learning are directly linked to glucose levels and the brain's ability to use it efficiently This can lead to a failure to connect them with appropriate support services or interventions for Jermaine Morton's survival 2. Lack of Proper contacting Planning and Follow-Through: Consequences of Low Glucose: If the brain doesn't receive enough glucose, it can lead to a variety of problems, including impaired cognitive function, poor attention, and difficulty with communication between neurons A social security agent case manager who doesn't develop a comprehensive plan or follow through on commitments may fail to ensure the individual receives the necessary support. This could result in a lack of supervision, inadequate care, or neglect of JERMAINE MORTON that is a homeless black man disabile adult that was denied opportunities for assistance from SOCIAL security administration has not given JERMAINE MORTON no referral No Inadequate Connections to any other agencies or Resources: A social security agent case manager who doesn't connect individuals with appropriate resources (e.g., housing, food, medical care) may leave them vulnerable to neglect. This could include failing to provide referrals, advocate for their needs, or ensure they receive necessary support. Social security administration by decision-making believe that they shall not be held to an accountability laws or punishment against neglect foreknowning the impact our decision may effect jermaine morton benefits for survival or mental or physical health give or take the maximum survival time for the entire body, having no financial support assistance jermaine morton's brain cellular process neurologic of the brain's may be effected by an hypothalamus process known as autophagy (literally self-eating.) 4. Lack of Proper Documentation and Communication: A case manager who doesn't adequately document their interactions or communicate effectively with other professionals social security agent case manager may create gaps in care. Social Security case managers are accountable for a variety of responsibilities, including documenting case management activities, ensuring timely referrals, and working with clients to achieve their goals. Accountability extends to following rules of conduct, avoiding delays in claim processing, and ensuring client confidentiality. The Social Security Administration (SSA) also has internal systems and processes to ensure accountability for improper payments and fraud prevention. Elaboration: Documentation: Case managers must meticulously document their interactions and actions with clients, ensuring all case management activities are recorded in a timely manner, according to NASW. Referrals: Case managers are accountable for ensuring clients receive appropriate referrals to other agencies or resources, such as food banks or other organizations that can address specific needs. Client Goals: Case managers work collaboratively with clients to develop and achieve personalized goals, often involving a mix of counseling, support, and guidance. Rules of Conduct: Case managers are subject to rules of conduct that prohibit threatening, coercing, or misleading clients, as well as other actions that could compromise the integrity of the process. Claim Processing: Case managers should avoid actions that would unreasonably delay the processing of claims or cause them to be delayed without a legitimate reason. Client Confidentiality: Case managers must protect the confidentiality of client information and avoid disclosing it without proper consent. Internal Systems: The SSA has implemented systems, such as the Unified Measurement System/Managerial Cost Accountability System (SUMS/MCAS), to track and manage costs and resources, ensuring accountability for financial matters Social Security crimes committed by agents include misusing benefits intended for others, working under another person's Social Security number, and filing claims using a false name or SSN. Additionally, it can involve providing false information on benefits claims, concealing facts affecting eligibility, and mismanaging a beneficiary's funds. Here's a more detailed breakdown: Misusing benefits (by a representative payee): A representative payee is someone assigned to handle financial affairs for a benefits recipient. They can misuse the funds by spending them on personal expenses instead of the beneficiary's needs. Working under someone else's Social Security number (SSN): This involves using another person's SSN to get a job or work for wages, potentially impacting the real owner's benefits and tax record. Filing claims under another person's SSN: This includes using another person's SSN to apply for Social Security benefits, which is a form of identity theft and fraud. Providing false information on benefits claims: This involves intentionally misrepresenting facts or omitting information to qualify for or increase benefits. Concealing facts or events that affect eligibility: This includes hiding information that could disqualify a person from receiving benefits or reduce their benefit amount. Mismanaging a beneficiary's funds: This can involve a representative payee failing to properly manage funds, spending them inappropriately, or failing to account for them. Making false statements on claims: This includes making false or misleading statements in application forms, or providing false information during investigations social security administration records claims Jermaine Morton history involuntary psychiatric hospitalization Year 1991~1992 concurrent 30days at Coney Island Brooklyn New York City hospital concurrent 1~year and 5 months at South Beach state psychiatric hospital Year 1994~1996 concurrent Jermaine Morton involuntary psychiatric hospitalization Kings county hospital Brooklyn New York for 2 years concurrent and 6 months Year 1997 Jermaine Morton involuntary psychiatric hospitalization Coney Island Brooklyn New York City hospital served 30days Year 2000~2003 concurrent Jermaine Morton involuntary psychiatric hospitalization to lower Manhattan New York City hospital transfer to wards Island 10035 New York state hospitals stair program 6th floor b dorm Year 2003 Jermaine Morton involuntary psychiatric hospitalization presbyterian hospital transfer to state hospital outside of new york city area to Connecticut state hospital stay 6 months Year 2004 Jermaine Morton involuntary psychiatric hospitalization to Bronx hospital 6 months Year 2005 Jermaine Morton involuntary psychiatric hospitalization to Wards Island state hospital 4floor Mira 4 b 8 months Year 2005 Jermaine Morton involuntary psychiatric hospitalization at Brooklyn New York City hospita

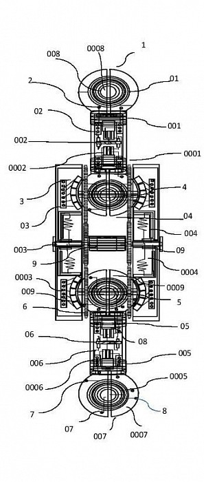
FLYMORTON CHARACTERIZED AS IN WEARABLE SPIDER-MAN ELECTRODYNAMICS REPULSIVE EDF EMS EDS AERODYNAMIC MANNED UAV ACROBATIC EDF SOLENOID HOLD SUIT BLEND WEARABLE MAN OF STEEL ELECTRODYNAMICS REPULSIVE EDF EMS EDS MANNED UAV AERODYNAMIC SUIT DRONE WEARABLE IRON MAN ELECTRODYNAMICS REPULSIVE EDF EMS EDS MANNED UAV AERODYNAMIC SUIT DRONE WEARABLE FANTASTIC FOUR TORCH METALLIC CARBON RUBBERMAID TRANSDUCTOR TRANSDUCER ENCLOSURES MODULATED HARMONIC SONIC SPIKE STUDDED ELECTRON BEAM ENCLOSURES ELECTRODYNAMICS REPULSIVE THRUST PRESSURES LINEAR HORIZONTAL PLASMA FLAME EMITTER BIOMETRIC RANGE VECTOR FIELD IONIC ORBITAL ATMOSPHERIC ELECTROPHORESIS ELECTROMOTIVE RADIATION LEPTON ELECTRON OR ELECTRON DECAY FORCES GYROSCOPE PRECESSION ION COUNTERCLOCKWISE LIQUID ROTATION WITHIN A PARTICLE ENCLOSURES DUE TO SUBATOMIC UPWARD MOVEMENT AGAINST THE WEIGHT OF GRAVITY, ION ATOMIC DECAY SUBATOMIC RADIATION COLLISIONS FORCES COUNTERCLOCKWISE ATOMIC MASS PHASE CENTRAL SUBATOMIC AREA RESONATE ELECTROLYTE RESERVOIR ROTATION COUNTERCLOCKWISE ELECTROMOTIVE TYPE ELECTROLUX LENZ'S LAW SUBATOMIC ACTIVITY KINETIC ENERGY UPWARD FORCES ATOMIC MASS ELECTRODYNAMICS COLLISION PHASE METALLIC GAUGE ENCLOSURES PRISM RESONATE HELIUM-4 DECAY ORBITAL UPWARD KINETIC ENERGY AGAINST THE WEIGHT OF MASS METALLIC GAUGE GRAVITY ARC ORBITAL TORQUE RESONATE FORCES SUBATOMIC MASS EEG RADIATION PRESSURES UPWARD FORCE CONSTANT ENERGY WAVELENGTH PULSE PHASE AC INDUCTION LENZ'S LAW IONS FARADAY'S LAW OF INDUCTION GAUSS FARADAY'S CAGE BUOYANCY ENCLOSURES ESC AERODYNAMIC MANNED UAV FLIGHT SUIT DRONE ALL-IN-ONE POTENTIOMETRIC RANGE SYSTEM COMPONENTS LENZ'S LAW ELECTRICAL TRANSDUCTION FARADAY 'S LAW OF INDUCTION CIRCUIT MODULATED INDUCTOR DC/AC 7V PULSE PHASE EMI FILTER INDUCED CURRENT CARRYING DIAMAGNETIC COPPER WIRE BIOMETRIC RANGE ARRANGED 319,056TESLA'S COIL OF WIRE TURNS DESIGN VOLTAGE TRANSFORMER BARING MAGNETIC FLUX TYPE FERROMAGNETIC IRON COIL 319,056TURNS OF WIRE WEBER ELECTROMOTIVE (EMT) MFD (EMI)SEPARATE CIRCUIT TYPE SOLENOID BARING IRON FLUX WIRE CURRENT CARRYING COIL ELEMENT FERROMAGNETIZED TRANSDUCTOR HALL EFFECT SPLIT EDDY CURRENTS EMITTER VECTOR FIELD PHASE POLARIZED PERMANENT MAGNET REPULSIVE VECTOR FIELD ARRANGED TESLA'S MOTOR TYPE LINEARLY MAGLEV WAY ISOTROPIC RADIATION PRESSURES FORCES AGAINST SYNCHRONIZATION (EMI) IRON VECTOR FIELD MODULATED DC/AC 350V 50HZ+PULSE PHASE FERROMAGNETISM TEMPORARY MAGNETISM PULSE PHASE DC/AC EDF FARADAY'S CAGE ALUMINUM SOLID BLOCK DEFORM BIOMETRIC BACK SIDE RANGE DESIGN ELECTRICAL CIRCUIT ENCLOSURES MODULATED DC/AC 350W 50HZ/60HZ PULSE PHASE PARAMAGNETISM EMT AC PHASE VOLTAGE TRANSFORMER SEPARATE CIRCUITS PULSE PHASE AC EDF FARADAY'S CAGE ENCLOSURES DIAMAGNETIC DC/ 350V 50hz/60hz PULSE PHASE COPPER SHEET BLOCK CURRENT CARRYING SOLID METALLIC DEFORM BIOMETRIC FRONTAL RANGE STRUCTURE DESIGN CURRENT CARRYING AC PULSE PHASE CENTRAL ELECTRICAL WIRE CIRCUIT VOLTAGE TRANSFORMER EDS ESC MANNED UAV DRONE SUBJECT NOT LIMITING TO ADDITIONAL SYSTEM OR STRUCTURE POTENTIOMETRIC RANGE DESIGN INVENTOR JERMAINE MORTON