- Get link
- X
- Other Apps
Popular Posts
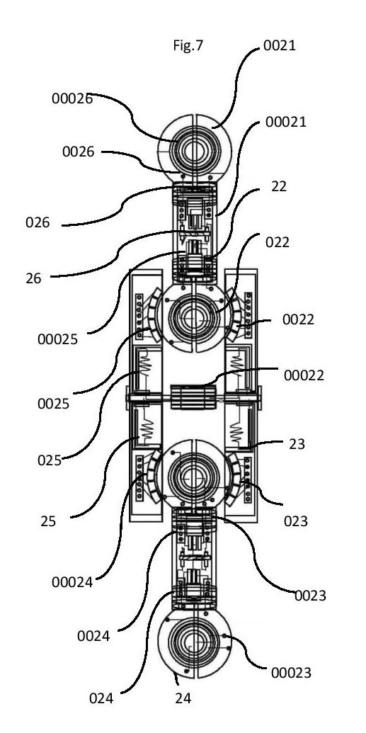
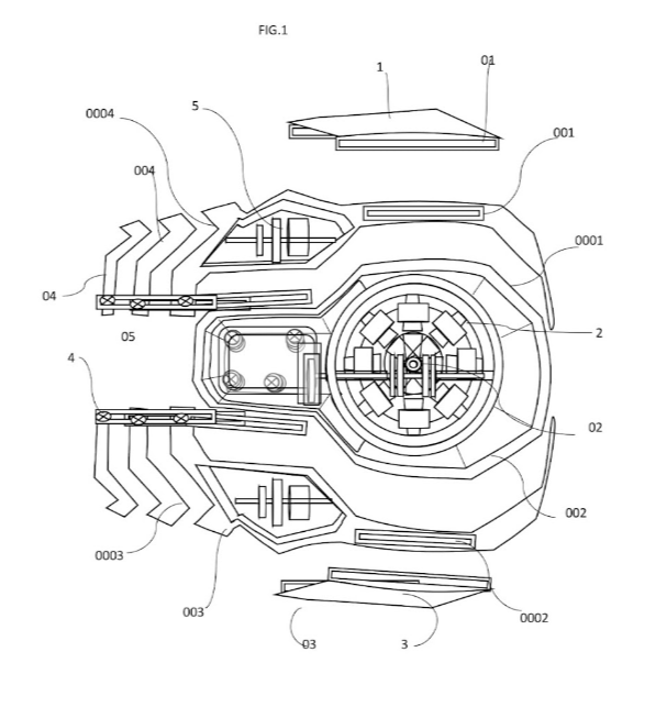
FLYMORTON CHARACTERIZED AS IN WEARABLE SPIDER-MAN ELECTRODYNAMICS REPULSIVE EDF EMS EDS AERODYNAMIC MANNED UAV ACROBATIC EDF SOLENOID HOLD SUIT BLEND WEARABLE MAN OF STEEL ELECTRODYNAMICS REPULSIVE EDF EMS EDS MANNED UAV AERODYNAMIC SUIT DRONE WEARABLE IRON MAN ELECTRODYNAMICS REPULSIVE EDF EMS EDS MANNED UAV AERODYNAMIC SUIT DRONE WEARABLE FANTASTIC FOUR TORCH METALLIC CARBON RUBBERMAID TRANSDUCTOR TRANSDUCER ENCLOSURES MODULATED HARMONIC SONIC SPIKE STUDDED ELECTRON BEAM ENCLOSURES ELECTRODYNAMICS REPULSIVE THRUST PRESSURES LINEAR HORIZONTAL PLASMA FLAME EMITTER BIOMETRIC RANGE VECTOR FIELD IONIC ORBITAL ATMOSPHERIC ELECTROPHORESIS ELECTROMOTIVE RADIATION LEPTON ELECTRON OR ELECTRON DECAY FORCES GYROSCOPE PRECESSION ION COUNTERCLOCKWISE LIQUID ROTATION WITHIN A PARTICLE ENCLOSURES DUE TO SUBATOMIC UPWARD MOVEMENT AGAINST THE WEIGHT OF GRAVITY, ION ATOMIC DECAY SUBATOMIC RADIATION COLLISIONS FORCES COUNTERCLOCKWISE ATOMIC MASS PHASE CENTRAL SUBATOMIC AREA RESONATE ELECTROLYTE RESERVOIR ROTATION COUNTERCLOCKWISE ELECTROMOTIVE TYPE ELECTROLUX LENZ'S LAW SUBATOMIC ACTIVITY KINETIC ENERGY UPWARD FORCES ATOMIC MASS ELECTRODYNAMICS COLLISION PHASE METALLIC GAUGE ENCLOSURES PRISM RESONATE HELIUM-4 DECAY ORBITAL UPWARD KINETIC ENERGY AGAINST THE WEIGHT OF MASS METALLIC GAUGE GRAVITY ARC ORBITAL TORQUE RESONATE FORCES SUBATOMIC MASS EEG RADIATION PRESSURES UPWARD FORCE CONSTANT ENERGY WAVELENGTH PULSE PHASE AC INDUCTION LENZ'S LAW IONS FARADAY'S LAW OF INDUCTION GAUSS FARADAY'S CAGE BUOYANCY ENCLOSURES ESC AERODYNAMIC MANNED UAV FLIGHT SUIT DRONE ALL-IN-ONE POTENTIOMETRIC RANGE SYSTEM COMPONENTS LENZ'S LAW ELECTRICAL TRANSDUCTION FARADAY 'S LAW OF INDUCTION CIRCUIT MODULATED INDUCTOR DC/AC 7V PULSE PHASE EMI FILTER INDUCED CURRENT CARRYING DIAMAGNETIC COPPER WIRE BIOMETRIC RANGE ARRANGED 319,056TESLA'S COIL OF WIRE TURNS DESIGN VOLTAGE TRANSFORMER BARING MAGNETIC FLUX TYPE FERROMAGNETIC IRON COIL 319,056TURNS OF WIRE WEBER ELECTROMOTIVE (EMT) MFD (EMI)SEPARATE CIRCUIT TYPE SOLENOID BARING IRON FLUX WIRE CURRENT CARRYING COIL ELEMENT FERROMAGNETIZED TRANSDUCTOR HALL EFFECT SPLIT EDDY CURRENTS EMITTER VECTOR FIELD PHASE POLARIZED PERMANENT MAGNET REPULSIVE VECTOR FIELD ARRANGED TESLA'S MOTOR TYPE LINEARLY MAGLEV WAY ISOTROPIC RADIATION PRESSURES FORCES AGAINST SYNCHRONIZATION (EMI) IRON VECTOR FIELD MODULATED DC/AC 350V 50HZ+PULSE PHASE FERROMAGNETISM TEMPORARY MAGNETISM PULSE PHASE DC/AC EDF FARADAY'S CAGE ALUMINUM SOLID BLOCK DEFORM BIOMETRIC BACK SIDE RANGE DESIGN ELECTRICAL CIRCUIT ENCLOSURES MODULATED DC/AC 350W 50HZ/60HZ PULSE PHASE PARAMAGNETISM EMT AC PHASE VOLTAGE TRANSFORMER SEPARATE CIRCUITS PULSE PHASE AC EDF FARADAY'S CAGE ENCLOSURES DIAMAGNETIC DC/ 350V 50hz/60hz PULSE PHASE COPPER SHEET BLOCK CURRENT CARRYING SOLID METALLIC DEFORM BIOMETRIC FRONTAL RANGE STRUCTURE DESIGN CURRENT CARRYING AC PULSE PHASE CENTRAL ELECTRICAL WIRE CIRCUIT VOLTAGE TRANSFORMER EDS ESC MANNED UAV DRONE SUBJECT NOT LIMITING TO ADDITIONAL SYSTEM OR STRUCTURE POTENTIOMETRIC RANGE DESIGN INVENTOR JERMAINE MORTON
- Get link
- X
- Other Apps





















































































































































































































































































































































































































































-page-005.jpg)

Comments
Post a Comment