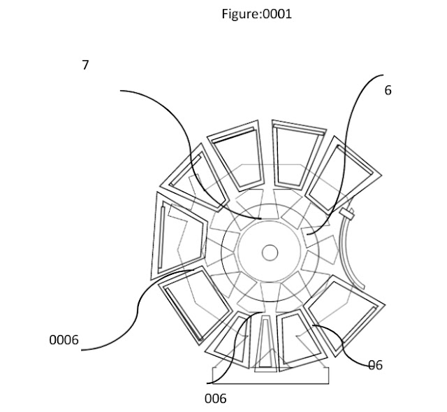
AMG) STI) ELECTROMAGNETIC CHEMICAL(EFB) ELECTROLYTES GEL CELL COMPONENTS DIAMAGNETIC REPULSION PARAMAGNETIC REPULSION MAXWELLS LAW/LORENTZ LAW/GEE INDUCED FLUX MFD/MAGLEV WAY/(EMS)LENZS LAW/FARADAY LAW DELTA WAVES GAUNTLET BLOCKING ENCLOSURES MANNED UAV DRLAW SUBJECT NOT LIMITING TO ADDITIONAL SYSTEM OR STRUCTURE POTENTIAL METRIC RANGE DESIGN INVENTOR JERMAINE MORTON FLYMORTON WEARABLE COIL OF WIRE DEFORM CROSS SPIRAL DESIGN BIOMETRIC RANGE LINEAR SOLENOID DIAMAGNETIC REPULSION PARAMAGNETIC BODY ARMOR ESC ORTHOSIS FOREARMS ARMOR MANNED UAV ACTUATOR DRONE BRACE SUBJECT NOT LIMITING TO ADDITIONAL SYSTEM OR STRUCTURE POTENTIOMETRIC RANGE DESIGN INVENTOR JERMAINE MORTON FLYMORTON wearable conductive orthosis forearms brace part uses electromagnetic force to accelerate Aluminum curved flat bar to extremely high speeds . It works by utilizing a group of parallel copper metal rails and a conductive aluminum curved flat bar, . When electric current flows through the copper rails , a strong magnetic field is generated between them . This magnetic field interacts with the electrical current flowing through the conductive aluminum flat bar , creating a Lorentz force that causes the aluminum to accelerate away copper rails against the weight of gravity drag forces away inertial Mass into the air the Aluminum brace moves forward , it permanently couple copper rails , which act as a kind of launcher, The speed and momentum gained by the aluminum flat bar from the magnetic field can be significant , reaching velocities of several kilometers per second with enough power . Unlike traditional firearms that use gunpowder to generate force , the copper rail rely entirely on electricity to power the inertial Mass escape, or automatic biometric range body armor, long - range, delivery wearable and speed make them ideal for thing for body armor spaceship propulsion , and even space exploration subject not limiting to additional system or structure potentiometric range design inventor Jermaine Morton FLYMORTON WEARABLE QUARTZ CRYSTAL PYROELECTRIC EFFECT COATED ELECTRICAL CIRCUIT material for the mold latex rubber, used to create a mold box ( an outer frame to hold the mold material ) around the structure to be copied . Apply mold release agent : Coat the entire structure and the inside of the mold box with a mold release agent to prevent the mold material from sticking . mold material :Sodium Acetate Solution (3 M), and sodium-carboxylate pour it into the mold box , ensuring that it covers the structure to be copied Allowed the mold to cure : Wait for the mold material to cure or dry completely , typically for several hours or overnight . than Remove the mold : Carefully remove the mold box and gently peel away the mold material to reveal the mold of the structure subject not limiting to additional system or structure potentiometric range design inventor Jermaine Morton FLYMORTON wearable linear solenoid multiple joint scissoring guide mouser Protractor actuator conductive orthosis forearms brace part uses electromagnetic force to accelerate Aluminum curved flat bar to extremely high speeds . It works by utilizing a group of parallel copper metal rails and a conductive aluminum curved flat bar, . When electric current flows through the copper rails , a strong magnetic field is generated between them . This magnetic field interacts with the electrical current flowing through the conductive aluminum flat bar , creating a Lorentz force that causes the aluminum to accelerate away copper rails against the weight of gravity drag forces away inertial Mass into the air the Aluminum brace moves forward , it permanently couple copper rails , which act as a kind of launcher, The speed and momentum gained by the aluminum flat bar from the magnetic field can be significant , reaching velocities of several kilometers per second with enough power . Unlike traditional firearms that use gunpowder to generate force , the copper rail rely entirely on electricity to power the inertial Mass escape, or automatic biometric range body armor, long - range, delivery wearable and speed make them ideal for thing for body armor spaceship propulsion , and even space exploration subject not limiting to additional system or structure potentiometric range design inventor Jermaine Morton FLYMORTON WEARABLE BIOMECHATRONIC ELECTROMOTIVE BIO-MAPPING MOUSER BIOMETRIC RANGE FINDER NAVIGATOR AUTOMATIC RESIZER PROXIMITY SOLENOID HOLD SENSE SCISSORING ACTUATOR WALL CLIMBING CROSS CRAWLING PROTRACTOR ACTIVE VARIABLE FREQUENCIES 20,000GHZ ACTIVE PASSIVE CLOCK HARDWARE SOFTWARE BASE QUARTZ CRYSTAL OSCILLATOR PYROELECTRIC EFFECT COATED ELECTRICAL CIRCUIT material for the mold latex rubber, used to create a mold box ( an outer frame to hold the mold material ) around the structure to be copied . Apply mold release agent : Coat the entire structure and the inside of the mold box with a mold release agent to prevent the mold material from sticking . mold material :Sodium Acetate Solution (3 M), and sodium-carboxylate and thermal reactive cryogenic luminous ink pour it into the mold box , ensuring that it covers the structure to be copied Allowed the mold to cure : Wait for the mold material to cure or dry completely , typically for several hours or overnight . than Remove the mold : Carefully I shall remove the mold box and gently peel away the mold material to reveal the mold of the structure EXTERIOR EXHIBITS ALIGNED SILVER FLAT WIRE PHOTOVOLTAIC SOLAR CELL METHOD OR APPROACH LUMINOUS DIAMAGNETIC REPULSION CIRCUIT COATED QUARTZ SUBSYSTEM EXTERIOR SUBSYSTEM not limiting to additional system or structure potentiometric range design inventor Jermaine Morton ADDITIONAL SUBSYSTEM BASE SURFACE STRUCTURE CONDUCTIVE PAIR OF ELECTRODE TUBING POSITIVE OR NEGATIVE TUBING SPUN ALONGSIDE THE ALUMINUM EXTERIOR SURFACE BASE BETWEEN COPPER COILS OF WIRE COPPER TUBING HOLLOW OPEN CLEARANCE CYLINDRICAL BARING ADAPTER TYPE MECHATRONIC SOLENOID GAS PUMP ELECTROCHEMICAL EFB GEL ELECTROLYTE CELL MIXTURE 40%60% DIELECTRIC LIQUID FILAMENT INJECTED MECHATRONICALLY. CENTRAL UNDERNEATH IRON ENCLOSURES SUBJECT NOT LIMITING TO ADDITIONAL SYSTEM OR STRUCTURE POTENTIOMETRIC RANGE DESIGN INVENTOR JERMAINE MORTON FLYMORTON CHARACTERIZED AS AN WEARABLE CONDUCTIVE CROSS WIRE SPIRAL PARALLEL THREADED BIOMECHATRONIC VOLTAGE TRANSFORMER BODY ARMOR ELECTRICALLY CONDUCTIVE PROPELLANT CIRCUIT MANNED UAV ORTHOSIS FOREARMS HAND SIDE PALMA LINEAR SOLENOID BRACE BRACE DRONE BODY ARMOR SELF REPULSION FLIGHT GLOVE ACTUATOR AGM/EFB gel cell/DC/MFD/ MAXWELL LAW EMT/EDS LORENTZ LAW DIAMAGNETIC REPULSION/PM /EMS/MAGLVE WAY/EMW/ COMMON POLARIZED REPULSIVE MAGNETIC/ESC TRANSDUCTOR ELECTRODYNAMICS LENZ'S LAW SUBJECT NOT LIMITING TO ADDITIONAL SYSTEM OR STRUCTURE POTENTIOMETRIC RANGE DESIGN INVENTOR JERMAINE MORTON FLYMORTON WEARABLE FOCAL TELESCOPIC TRANSPARENT EPOXY RESIN CRYSTAL CLEAR NANO SCOPE OPTICAL BODY ARMOR FULL BODY MAGNIFICATION ENCLOSURES FULL BODY TRANSPARENCY MANNED UAV DRONE SUBJECT NOT LIMITING TO ADDITIONAL SYSTEM OR STRUCTURE POTENTIOMETRIC RANGE DESIGN INVENTOR JERMAINE MORTON FLYMORTON CHARACTERIZED AS IN WEARABLE COMMUTATOR MANNED UAV ORTHOSIS PALMA CAGE GEL ELECTROLYTE CELL COPPER ARMATURE ROTARY BRACE DRONE EMT EDS LENZS LAW FLYMORTON CHARACTERIZED AS AN WEARABLE copper wire turns of coil weighs more than all of the COMPONENTS. subject not limiting to additional system or structure, FLYMORTON CHARACTERIZED AS IN WEARABLE BIOMECHATRONIC MANNED UAV CONDUCTIVE ROUND WIRE DEFORMED CROSS SEWING WIRE biometric range BRACE DESIGN SUBJECT NOT LIMITING TO ADDITIONAL SYSTEM OR STRUCTURE, FLYMORTON CHARACTERIZED WEARABLE copper wire turns of coil wearable biometric range design wear weighs half of my biophysical separate section segments of mass. subject not limiting to additional system or structure, FLYMORTON CHARACTERIZED AS IN WEARABLE transductor flight suit machine emits Newtonian Mass active force against the weight to gravity or inertial Mass subject not limiting to additional system or structure FLYMORTON CHARACTERIZED AS IN WEARABLE CONDUCTIVE BATTERY BODY ARMOR ORTHOSIS BIOMETRIC RANGE DESIGN SUBSYSTEM STRUCTURE OPERATES AMG /STI /EFB/ EEG/EE/DC SOFTWARE BASE PROCESSOR SIGNALS BODY ARMOR HARDWARE CIRCUITRY SONAR EFFECTS SOLAR PHOTOVOLTAIC HUMAN MAGNETIC DOPPLER EFFECTIVE TRANSDUCTOR TRANSMISSION NEURO ELECTROPHYSIC FEEDBACK RECORDED LOOPS SWITCH CURRENT CARRYING LOW ALPHA VELOCITY STEP DOWN OMEGA VELOCITY HZ /HFP/ AMP /WATT/ DRIVING ION RADIATION TRANSDUCTION CIRCUITRY ENERGY CAPACITANCE POWER GENERATOR POWER CHARGE PHASE ONE WIRE MULTIPLE CHANNEL INDUCTION WIRE CURRENT CARRYING VOLTAGE TRANSMISSION ISOTOPIC ENERGY CELL, SUBJECT NOT LIMITING TO ADDITIONAL SYSTEM OR STRUCTURE, FLYMORTON WEARABLE MANNED UAV BATTERY BODY ARMOR ORTHOSIS BIOMETRIC RANGE BRACE TRANSMITS ELECTRONS MODULATED ELECTROMOTIVE MOVEMENT GYROSCOPE POSSESSION ROTATING ACTIVE QUANTUM VACUUM NON-NEWTONIAN MATTER GENERATING DENSITY TRANSMITTED BY AN ELECTRONIC WIRE FUNCTIONAL LIKENESSES AS AN VIBRATOR METHOD OR APPROACH ACOUSTOPHORESIS OR ELECTROPHORESIS ELECTRODYNAMICS SYNCHRONOUS POSITIVE CHARGE IONS EMISSIONS ENERGIZED ACTIVE NEUTRON ENERGY TORQUE FORCES INCREASES IN WAVELENGTH ENERGY FIELD DENSIFIED ELECTROSTATIC WITHIN ATMOSPHERIC ENVIRONMENT AMSPHERE INCREASE VIBRATION WITHIN SOLID STATE COMPILED ELEMENT ENVIRONMENT PYROELECTRIC EFFECTIVE PIEZOELECTRIC EFFECTIVE TETRAHEDRA COMPONENTS SOLID CRYSTALLOID THOMPSON EFFECTIVE SEEBECK EFFECTIVE THERMOMAGNETIC thermoelectric effective refrigeration thermodynamics condensation moisture generating pure ion liquid protrium deuterium triterium NUCLEI molecules EFB CHARGE COPPER SPHERE HIGH EMT ROTARY ENERGY POWER CELL CAPACITANCE AUTOMATIC RECHARGE STEP UP VOLTAGE PHASE COIL OF WIRE TRANSFORMER HARD SUIT ROBOTIC ORTHOSIS BIOMETRIC RANGE FLIGHT SUIT MACHINE DRONE BRACE SUBJECT NOT LIMITING TO ADDITIONAL SYSTEM OR STRUCTURE POTENTIOMETRIC RANGE DESIGN INVENTOR JERMAINE MORTON FLYMORTON WEARABLE ELECTRICAL CIRCUIT TELESCOPE LINEAR SOLENOID ORTHOSIS BIOMETRIC RANGE BRACE ACTUATOR ESC BODY ARMOR MAXWELL LAW OF INDUCTION/ LORENTZ FORCE/MAGLVE WAY/LENZ'S LAW/ FARADAY'S CAGE/DIAMAGNETIC REPULSION ESCAPE COIL FLIGHT SUIT MANNED UAV ESC ORTHOSIS BIOMETRIC RANGE FLIGHT SUIT MACHINE DRONE BRACE SYSTEM SUBJECT NOT LIMITING TO ADDITIONAL SYSTEM OR STRUCTURE POTENTIOMETRIC RANGE DESIGN INVENTOR JERMAINE MORTON 6,000T LINEAR SOLENOID ACTUATOR COIL FOREARMS- BICEPS+3,000T LINEAR SOLENOID ACTUATOR COIL LEFT SHOULDER+3,000T LINEAR SOLENOID ACTUATOR COIL RIGHT SHOULDER+600T LINEAR SOLENOID ACTUATOR COIL LEFT HAND SIDE PALMA+900T LINEAR SOLENOID ACTUATOR COIL HAND BRACE SHIELD +1,500T LINEAR SOLENOID ACTUATOR COIL FRONTAL LEFT SIDE CHEST+1,500T LINEAR SOLENOID ACTUATOR COIL RIGHT SIDE CHEST+1,200T LINEAR SOLENOID ACTUATOR COIL ABDOMINAL +6,000T LINEAR SOLENOID ACTUATOR COIL BACK REST LEFT AND RIGHT SIDE+300T LINEAR SOLENOID ACTUATOR COIL VERTEBRAE PROCESS REST BRACE STEP#1 +300T LINEAR SOLENOID ACTUATOR COIL VERTEBRAE REST BRACE PROCESS STEP 2+300T LINEAR SOLENOID ACTUATOR COIL VERTEBRAE REST BRACE PROCESS STEP 3+200T LINEAR SOLENOID ACTUATOR VERTEBRAE REST BRACE PROCESS STEP 4+200T LINEAR SOLENOID ACTUATOR COIL VERTEBRAE REST BRACE PROCESS STEP 5 +200T LINEAR SOLENOID ACTUATOR COIL VERTEBRAE REST BRACE PROCESS STEP 6+300T LINEAR SOLENOID ACTUATOR COIL VERTEBRAE REST BRACE PROCESS STEP 7 +300T LINEAR SOLENOID ACTUATOR COIL VERTEBRAE REST BRACE PROCESS STEP 8+300T LINEAR SOLENOID ACTUATOR COIL VERTEBRAE REST BRACE PROCESS STEP 9+300T LINEAR SOLENOID ACTUATOR COIL VERTEBRAE REST BRACE PROCESS STEP 10+200T LINEAR SOLENOID ACTUATOR COIL VERTEBRAE REST BRACE PROCESS STEP 11+200T LINEAR SOLENOID ACTUATOR COIL VERTEBRAE REST BRACE PROCESS STEP 12+200T LINEAR SOLENOID ACTUATOR COIL VERTEBRAE REST BRACE PROCESS STEP 13 +200T LINEAR SOLENOID ACTUATOR COIL VERTEBRAE REST BRACE PROCESS STEP 14+200T LINEAR SOLENOID ACTUATOR COIL VERTEBRAE REST BRACE PROCESS STEP 15+200T LINEAR SOLENOID ACTUATOR COIL VERTEBRAE REST BRACE PROCESS STEP 16+200T LINEAR SOLENOID ACTUATOR COIL VERTEBRAE REST BRACE PROCESS STEP 17+200T LINEAR SOLENOID ACTUATOR COIL VERTEBRAE REST BRACE PROCESS STEP 18+200T LINEAR SOLENOID ACTUATOR COIL VERTEBRAE REST BRACE PROCESS STEP 19 +200T LINEAR SOLENOID ACTUATOR COIL VERTEBRAE REST BRACE PROCESS STEP 20+200T LINEAR SOLENOID ACTUATOR COIL VERTEBRAE REST BRACE PROCESS STEP 21+200T LINEAR SOLENOID ACTUATOR COIL VERTEBRAE REST BRACE PROCESS STEP 22+200T LINEAR SOLENOID ACTUATOR COIL VERTEBRAE REST BRACE PROCESS STEP 23+100T LINEAR SOLENOID ACTUATOR COIL VERTEBRAE REST BRACE PROCESS STEP 24+100T LINEAR SOLENOID ACTUATOR COIL VERTEBRAE REST BRACE PROCESS STEP 25 +100T LINEAR SOLENOID ACTUATOR COIL VERTEBRAE REST BRACE PROCESS STEP 26+100T LINEAR SOLENOID ACTUATOR COIL VERTEBRAE REST BRACE PROCESS STEP 27+900T LINEAR SOLENOID ACTUATOR COIL LEFT SIDE BUTT SEAT TOILET REST ROTARY BRACE +900T LINEAR SOLENOID ACTUATOR COIL RIGHT SIDE BUTT SEAT TOILET REST ROTARY BRACE+6,000T LINEAR SOLENOID ACTUATOR COIL HIP THIGH FRONT REST BRACE LEFT SIDE +6,000T LINEAR SOLENOID ACTUATOR COIL HIP BACK SIDE THIGH ROTARY REST LEFT SIDE BRACE+6,000T LINEAR SOLENOID ACTUATOR COIL HIP THIGH FRONT RIGHT ROTARY REST SIDE BRACE +6,000T LINEAR SOLENOID ACTUATOR COIL HIP THIGH RIGHT SIDE REST ROTARY BRACE+1,500T LINEAR SOLENOID ACTUATOR COIL KNEES LEFT SIDE ROTOR BRACE +1,500T LINEAR SOLENOID ACTUATOR COIL KNEES RIGHT SIDE ROTOR BRACE+3,000T LINEAR SOLENOID ACTUATOR COIL CALF REST LEFT SIDE ROTARY BRACE +3,000T LINEAR SOLENOID ACTUATOR COIL SHIN REST RIGHT SIDE ROTARY BRACE+3,000T LINEAR SOLENOID ACTUATOR COIL CALF REST RIGHT SIDE ROTARY BRACE +3,000T LINEAR SOLENOID ACTUATOR COIL SHIN REST RIGHT SIDE ROTARY BRACE+300T LINEAR SOLENOID ACTUATOR COIL LEFT SIDE FOOT TOP BRACE+300T LINEAR SOLENOID ACTUATOR COIL RIGHT FOOT BRACE+200T LINEAR SOLENOID ACTUATOR COIL FOOT LEFT SIDE BRACE +200T LINEAR SOLENOID ACTUATOR COIL FOOT RIGHT SIDE BRACE+300T LINEAR SOLENOID ACTUATOR COIL FOOT TOE REST LEFT SIDE BRACE +300T LINEAR SOLENOID ACTUATOR COIL FOOT TOE REST RIGHT SIDE BRACE +200T COMMUTATOR CAGE ANKLE ROTOR HORN 1+200T COMMUTATOR CAGE ANKLE ROTOR HORN 2 +200T COMMUTATOR CAGE ANKLE ROTOR HORN 3+200T COMMUTATOR CAGE ANKLE ROTOR HORN 4+200T COMMUTATOR CAGE ANKLE ROTOR HORN 5 +200T COMMUTATOR TRANSDUCTOR CAGE ANKLE ROTOR 6+200T COMMUTATOR TRANSDUCTOR CAGE ANKLE ROTOR 7+200T COMMUTATOR TRANSDUCTOR CAGE ANKLE ROTOR 8+200T COMMUTATOR TRANSDUCTOR CAGE ANKLE ROTOR 9+200T COMMUTATOR TRANSDUCTOR CAGE ANKLE ROTOR 10+200T COMMUTATOR TRANSDUCTOR CAGE ANKLE ROTOR 11 +200T COMMUTATOR TRANSDUCTOR CAGE ANKLE ROTOR 12+300T LINEAR SOLENOID ACTUATOR COIL FOOT HEEL REST LEFT BRACE +300T LINEAR SOLENOID ACTUATOR COIL FOOT HEEL REST RIGHT BRACE+200T COMMUTATOR 1 TRANSDUCTOR CAGE ROTOR FOOT HEEL +200T COMMUTATOR TRANSDUCTOR CAGE ROTOR FOOT HEEL+200T COMMUTATOR 2 TRANSDUCTOR CAGE ROTOR FOOT HEEL +200T COMMUTATOR 3 TRANSDUCTOR CAGE ROTOR FOOT RIGHT HEEL+200T COMMUTATOR 4 TRANSDUCTOR CAGE ROTOR FOOT RIGHT HEEL+200T COMMUTATOR 5 TRANSDUCTOR CAGE ROTOR FOOT RIGHT HEEL+200T COMMUTATOR 6 TRANSDUCTOR CAGE ROTOR FOOT RIGHT HEEL+200T COMMUTATOR 7 TRANSDUCTOR CAGE ROTOR FOOT HEEL+200T COMMUTATOR 8 TRANSDUCTOR CAGE ROTOR FOOT RIGHT HEEL +200T COMMUTATOR 9 TRANSDUCTOR CAGE ROTOR FOOT RIGHT HEEL+200T COMMUTATOR 10 TRANSDUCTOR CAGE ROTOR FOOT RIGHT HEEL+200T COMMUTATOR 11 TRANSDUCTOR CAGE ROTOR FOOT RIGHT HEEL BRACE +200T COMMUTATOR 12 TRANSDUCTOR CAGE ROTOR FOOT RIGHT HEEL BRACE+200T COMMUTATOR 1 TRANSDUCTOR CAGE ROTOR FOOT LEFT HEEL BRACE+200T COMMUTATOR 2 TRANSDUCTOR CAGE ROTOR FOOT LEFT HEEL BRACE +200T COMMUTATOR 3 TRANSDUCTOR CAGE ROTOR FOOT HEEL LEFT BRACE+200T COMMUTATOR 4 TRANSDUCTOR CAGE ROTOR FOOT HEEL LEFT BRACE+200T COMMUTATOR 5 TRANSDUCTOR CAGE ROTOR FOOT HEEL LEFT BRACE+200T COMMUTATOR 6 TRANSDUCTOR CAGE ROTOR FOOT HEEL LEFT BRACE+200T COMMUTATOR 7 TRANSDUCTOR CAGE ROTOR FOOT HEEL LEFT BRACE+200T COMMUTATOR 8 TRANSDUCTOR CAGE ROTOR FOOT HEEL LEFT BRACE +200T COMMUTATOR 9 TRANSDUCTOR CAGE ROTOR FOOT HEEL LEFT BRACE+200T COMMUTATOR 10 TRANSDUCTOR CAGE ROTOR FOOT HEEL LEFT BRACE+200T COMMUTATOR 11 TRANSDUCTOR CAGE ROTOR FOOT HEEL LEFT BRACE+200T COMMUTATOR 12 TRANSDUCTOR CAGE ROTOR FOOT HEEL LEFT BRACE+200T COMMUTATOR 1 TRANSDUCTOR CAGE ROTOR HIP ROM RIGHT BRACE+200T COMMUTATOR 2 TRANSDUCTOR CAGE ROTOR HIP ROM RIGHT BRACE +200T COMMUTATOR 3 TRANSDUCTOR CAGE ROTOR HIP ROM RIGHT BRACE +200T COMMUTATOR 4 TRANSDUCTOR CAGE ROTOR HIP ROM RIGHT BRACE+200T COMMUTATOR 5 TRANSDUCTOR CAGE ROTOR HIP ROM RIGHT BRACE+200T COMMUTATOR 6 TRANSDUCTOR CAGE ROTOR HIP ROM RIGHT BRACE+200T COMMUTATOR 7 TRANSDUCTOR CAGE ROTOR HIP ROM RIGHT BRACE+200T COMMUTATOR 8 TRANSDUCTOR CAGE ROTOR HIP ROM RIGHT BRACE +200T COMMUTATOR 9 TRANSDUCTOR CAGE ROTOR HIP ROM RIGHT BRACE+200T COMMUTATOR 10 TRANSDUCTOR CAGE ROTOR HIP ROM RIGHT BRACE+200T COMMUTATOR 11 TRANSDUCTOR CAGE ROTOR HIP ROM RIGHT BRACE+200T COMMUTATOR 12 TRANSDUCTOR CAGE ROTOR HIP ROM RIGHT BRACE+200T COMMUTATOR 1 TRANSDUCTOR CAGE ROTOR HIP BIAXIAL RIGHT BRACE+200T COMMUTATOR 2 TRANSDUCTOR CAGE ROTOR HIP BIAXIAL RIGHT BRACE +200T COMMUTATOR 3 TRANSDUCTOR CAGE ROTOR HIP BIAXIAL RIGHT BRACE+200T COMMUTATOR 4 TRANSDUCTOR CAGE ROTOR HIP BIAXIAL RIGHT BRACE +200T COMMUTATOR 5 TRANSDUCTOR CAGE ROTOR HIP BIAXIAL RIGHT BRACE+200T COMMUTATOR 6 TRANSDUCTOR CAGE ROTOR HIP BIAXIAL RIGHT BRACE+200T COMMUTATOR 7 TRANSDUCTOR CAGE ROTOR HIP BIAXIAL RIGHT BRACE+200T COMMUTATOR 8 TRANSDUCTOR CAGE ROTOR HIP BIAXIAL RIGHT BRACE +100T LINEAR SOLENOID ACTUATOR NECK REST BRACE +100T LINEAR SOLENOID ACTUATOR NECK REST BRACE+50T LINEAR SOLENOID ACTUATOR NECK vertebrae REST BRACE+50T LINEAR SOLENOID ACTUATOR NECK vertebrae REST BRACE+50T LINEAR SOLENOID ACTUATOR NECK vertebrae REST BRACE+50T LINEAR SOLENOID ACTUATOR NECK vertebrae REST BRACE+100T LINEAR SOLENOID ACTUATOR NECK vertebrae REST BRACE +100T LINEAR SOLENOID ACTUATOR NECK vertebrae REST BRACE+50t LINEAR SOLENOID ACTUATOR FINGER REST BRACE+50T LINEAR SOLENOID ACTUATOR COIL FINGER REST BRACE+50T LINEAR SOLENOID ACTUATOR COIL FINGER REST BRACE+50T LINEAR SOLENOID ACTUATOR FINGER REST BRACE+300T LINEAR SOLENOID ACTUATOR COIL ELBOW FOREARMS COMMUTATOR 1 TRANSDUCTOR REST RIGHT BRACE +300T LINEAR SOLENOID ACTUATOR COIL ELBOW FOREARMS COMMUTATOR 2 TRANSDUCTOR REST LEFT BRACE +300T LINEAR SOLENOID ACTUATOR ELBOW FOREARMS COMMUTATOR 1 TRANSDUCTOR REST LEFT BRACE+300T LINEAR SOLENOID ACTUATOR ELBOW FOREARMS COMMUTATOR 2;TRANSDUCTOR REST RIGHT BRACE+200T LINEAR SOLENOID ACTUATOR COIL 1-12 TRANSDUCTOR FACE SHIELD ROTARY REST BRACE +200T LINEAR SOLENOID ACTUATOR COIL 1-12 TRANSDUCTOR WRIST ROTARY REST BRACE+200T LINEAR SOLENOID ACTUATOR COIL 1-12 TRANSDUCTOR WRIST ROTARY REST BRACE+200T LINEAR SOLENOID ACTUATOR COIL TRANSDUCTOR telescope helmet ROTARY REST BRACE=86,600t 86,000KVA convert into hp 115,282hp 115,000 pounds/ft of thrust per second is 208 horsepower 155.106 kilowatts subject not limiting to additional system or structure potentiometric range inventor Jermaine Morton
FLYMORTON CHARACTERIZED AS IN WEARABLE BIOMECHATRONIC IRONMAN MARK 42 SUIT GEOPHYSICS AERODYNAMIC AERONAUTIC ENGINEERING INTUITIVE INTELLIGENCE SUBJECT NOT LIMITING TO ADDITIONAL SYSTEM OR STRUCTURE POTENTIOMETRIC RANGE DESIGN PROGRESS DEVELOPMENT INVENTOR JERMAINE MORTON
Back to the future; Wearable electrical circuitry coil phase wire current carrying inductor counterclockwise electrical energy winding quantum vacuum electromagnetic force right hand rule diamagnetic repulsion FARADAY'S LAW OF INDUCTION/ LENZ'S LAW /NEWTON'S THIRD LAW/ EDDY CURRENTS TRANSDUCTOR hypersonic COIL OSCILLATING WIRE SONIC EFFECT RADIATION MICROWAVE PRESSURES ELECTRODYNAMICS ARC or PULSE transonic wire OSCILLATION LONGITUDINAL ELECTROPHORESIS electrodynamics electrolysis SUBATOMIC particle ARC. BIOMETRIC sectional separate segments range HARMONIC body armor MODULATED EEG 4069hz PERCUSSION TUNING ACTIVE CLOCKING PASSIVE ELECTROMAGNETIC DIAMAGNETIC CRYSTALLOID PYROTECHNIC BODY ARMOR OSCILLATOR TYPE EFB STI ELECTRON IONIC ENERGY POWER CAPACITOR COMPONENTS HHO EEG STI ELECTROLYTE ENERGY CELL POWER GENERATOR MODULATED 210v-240v AC/DC ELECTROMAGNETIC PULSE PHASE ONE WIRE CURRENT CARRYING 150W MAX 10,000V÷160 COIL UNITS TRANSDUCTOR SYNCHRONOUS AC VOLTAGE STEP-UP TRANSFORMER AC 228HZ OMEGA FREQUENCY SUBATOMIC SUB-QUANTUM MASS 3,145,608hz 1 SECOND ELECTRODYNAMICS radiation pressures WEIGHT 5,000lbs+ OF MICROWAVES LONGITUDINAL radiation PRESSURES against ATMOSPHERIC PARTICLES LIQUID FILLED ENCLOSURES IN SPACE BETWEEN THE MEDIUM RISE COLLISION PHASES THREE DIMENSIONAL AREA OF FRACTION OF AN INDIVIDUAL LIQUID FILLED ENCLOSURE IN SPACE HARMONICALLY SONIC SPEED OSCILLATING TUNING TYPE BODY ARMOR PIEZOELECTRIC EFFECT PYROELECTRIC EFFECT THOMSON EFFECT THERMAL REACTIVE CRYSTALLOID OSCILLATOR MODULATED ELECTROMOTIVE EMT ELECTROPHORESIS BODY ARMOR OR ACOUSTOPHORESIS BODY ARMOR TRANSDUCER TYPE LINEAR SOLENOID HOLD SENSE TRACTOR OR BEAM IONS ELECTRODYNAMICS DIAMAGNETIC OR PARAMAGNETIC REPULSION against IT'S weight of it's gravity or inertial Mass ELECTROMAGNET BODY ARMOR vector field electrodynamics linear solenoid hold position proximity area of fractions suspension GEOPHYSICS hold proximity EMT EDS segments TRANSDUCTOR beam TRANSDUCTOR vector HALL EFFECT ATTRACTION tractor MAGNETIZED SUSPENSION BODY ARMOR REPULSION AS TO LEVITATION AS TO FLYING. ELECTRODYNAMICS PULSE REPULSION ARC sense DIAMAGNETIC VECTOR FIELD WITH MAGNETIZATION DC PARAMAGNETIC VECTOR FIELD REPULSION BODY ARMOR FARADAY'S CAGE BODY ARMOR METALLOID ENCLOSURES EDS ELECTRODYNAMICS ELECTROPHORESIS NUCLEI ENERGY CAPACITOR EFB STI QUARTZ CRYSTALLOID PYROTECHNIC BODY ARMOR ATMOSPHERIC VORTEX ELECTROLYSIS NUCLEAR ENERGY CELL GAS VORTEX AUTOMATIC ELECTROTHERMAL SONIC PULSE IGNITION FIRE SPHERICAL VORTEX STREAM DETONATION BODY ARMOR EXTERIOR OVAL FIRE DENSIFIED PRESSURES FORCES LINEAR LONGITUDINAL COMPRESSION FORCES AGAINST METALLOID BODY ARMOR HELIX MULTIPLE BLEEDER NOZZLE EXTERIOR CENTRAL CORE MANNED UAV ORTHOSIS BIOMETRIC RANGE BRACE BIONIC time machine Skipping momentum ANTIMATTER TRAVELING DECOMPRESSION VACUUMING SUSPENSION OF CONTROLLED MATTER WITHIN ATMOSPHERE VORTEX NEWTRON STAR ENERGY SPEEDS EXCEEDS GEOPHYSICS DECAY MOMENTUM PROCESS avoidance WHENSOEVER traveling ABOVE THE SPEEDS OF SOUND LONGITUDINAL high VELOCITY 2.2%Speed OF LIGHT flight suit TECHNOLOGY
technical process low alpha frequencies
(Michigan Institute of radiation) method or approach BETA WAVE energy geophysics logic radio MICROWAVESM NEWTRON ENERGY GENERATORN NEWTRON AMPHERE AMPLIFIER forces against nonmagnetic product
IRONMAN MARK 42 FLIGHT SUIT INDUSTRIAL ACTUATOR STRENGTHS HUMAN USER LIFTING AMPLIFIER ORTHOSIS BIOMETRIC RANGE EXTREMITY BIONICS ROBOTICS SUIT MACHINE TECHNOLOGY AERONAUTIC ENGINEERING INTUITIVE INTELLIGENCE PROGRESSIVE DEVELOPMENT SUBJECT NOT LIMITING TO ADDITIONAL SYSTEM OR STRUCTURE SERVO MOTOR POWER FULL BODY LEGGING WALKING SELF BALANCING MOBILITY ELECTROMAGNETIC GYROSCOPE ROTOR MAGNET WHEEL AXIS PROXIMITY FIELD STABILIZING SUIT MACHINE SUCTION GRIPPING VERTICAL BODY CLIMBING CRAWLING BRACE LINEAR SOLENOID EDS BODY ARMOR ACTUATOR WEARABLE MANNED UAV HUMANOID BIOMECHANICS BIOMEDICAL SUBMARINE METALLOID OCTOPUS ROBOTIC BIONIC AIRSHIP MACHINE SUIT DRONE POTENTIAL METRIC RANGE DESIGN INVENTOR JERMAINE MORTON


Back to the future; Wearable electrical circuitry coil phase wire current carrying inductor counterclockwise electrical energy winding quantum vacuum electromagnetic force right hand rule diamagnetic repulsion FARADAY'S LAW OF INDUCTION/ LENZ'S LAW /NEWTON'S THIRD LAW/ EDDY CURRENTS TRANSDUCTOR hypersonic COIL OSCILLATING WIRE SONIC EFFECT RADIATION MICROWAVE PRESSURES ELECTRODYNAMICS ARC or PULSE transonic wire OSCILLATION LONGITUDINAL ELECTROPHORESIS electrodynamics electrolysis SUBATOMIC particle ARC. BIOMETRIC sectional separate segments range HARMONIC body armor MODULATED EEG 4069hz PERCUSSION TUNING ACTIVE CLOCKING PASSIVE ELECTROMAGNETIC DIAMAGNETIC CRYSTALLOID PYROTECHNIC BODY ARMOR OSCILLATOR TYPE EFB STI ELECTRON IONIC ENERGY POWER CAPACITOR COMPONENTS HHO EEG STI ELECTROLYTE ENERGY CELL POWER GENERATOR MODULATED 210v-240v AC/DC ELECTROMAGNETIC PULSE PHASE ONE WIRE CURRENT CARRYING 150W MAX 10,000V÷160 COIL UNITS TRANSDUCTOR SYNCHRONOUS AC VOLTAGE STEP-UP TRANSFORMER AC 228HZ OMEGA 3,145,608hz 1 SECOND SUBATOMIC MASS ELECTRODYNAMICS radiation pressures Gauss FORCE WEIGHT 5,000lbs+ MICROWAVES LONGITUDINAL radiation pressures FORCES ARC pressures ATMOSPHERIC MATTER BETWEEN THE MEDIUM RISE ACOUSTOPHORESIS TRACTOR BEAM ELECTRODYNAMICS REPULSION against the weight of it's gravity or inertial Mass ELECTROMAGNET BODY ARMOR vector field electrodynamics linear solenoid hold proximity area of fractions GEOPHYSICS suspension ELECTRODYNAMICS ARC sense DIAMAGNETIC MAGNETIZATION PARAMAGNETIC REPULSION FARADAY'S CAGE BODY ARMOR ENCLOSURES EDS ELECTRODYNAMICS ELECTROPHORESIS NUCLEI ENERGY CAPACITOR EFB STI QUARTZ CRYSTALLOID PYROTECHNIC BODY ARMOR ATMOSPHERIC VORTEX ELECTROLYSIS NUCLEAR ENERGY CELL GAS VORTEX AUTOMATIC ELECTROTHERMAL SONIC PULSE IGNITION FIRE SPHERICAL VORTEX STREAM DETONATION BODY ARMOR EXTERIOR OVAL FIRE DENSIFIED PRESSURES FORCES LINEAR LONGITUDINAL COMPRESSION FORCES AGAINST METALLOID BODY ARMOR HELIX MULTIPLE BLEEDER NOZZLE EXTERIOR CENTRAL CORE MANNED UAV ORTHOSIS BIOMETRIC RANGE BRACE BIONIC time machine Skipping momentum decay avoidance traveling high at speed flight suit TECHNOLOGY
IRONMAN MARK 42 FLIGHT SUIT INDUSTRIAL ACTUATOR STRENGTHS HUMAN USER LIFTING AMPLIFIER ORTHOSIS BIOMETRIC RANGE EXTREMITY BIONICS ROBOTICS SUIT MACHINE TECHNOLOGY AERONAUTIC ENGINEERING INTUITIVE INTELLIGENCE PROGRESSIVE DEVELOPMENT SUBJECT NOT LIMITING TO ADDITIONAL SYSTEM OR STRUCTURE SERVO MOTOR POWER FULL BODY LEGGING WALKING SELF BALANCING MOBILITY ELECTROMAGNETIC GYROSCOPE ROTOR MAGNET WHEEL AXIS PROXIMITY FIELD STABILIZING SUIT MACHINE SUCTION GRIPPING VERTICAL BODY CLIMBING CRAWLING BRACE LINEAR SOLENOID EDS BODY ARMOR ACTUATOR WEARABLE MANNED UAV HUMANOID BIOMECHANICS BIOMEDICAL SUBMARINE METALLOID OCTOPUS ROBOTIC BIONIC AIRSHIP MACHINE SUIT DRONE POTENTIAL METRIC RANGE DESIGN INVENTOR JERMAINE MORTON
Back to the future; Wearable electrical circuitry coil phase wire current carrying inductor counterclockwise electrical energy winding quantum vacuum electromagnetic force right hand rule diamagnetic repulsion FARADAY'S LAW OF INDUCTION/ LENZ'S LAW /NEWTON'S THIRD LAW/ EDDY CURRENTS TRANSDUCTOR hypersonic COIL OSCILLATING WIRE SONIC EFFECT RADIATION MICROWAVE PRESSURES ELECTRODYNAMICS ARC or PULSE transonic wire OSCILLATION LONGITUDINAL ELECTROPHORESIS electrodynamics electrolysis SUBATOMIC particle ARC. BIOMETRIC sectional separate segments range HARMONIC body armor MODULATED EEG 4069hz PERCUSSION TUNING ACTIVE CLOCKING PASSIVE ELECTROMAGNETIC DIAMAGNETIC CRYSTALLOID PYROTECHNIC BODY ARMOR OSCILLATOR TYPE EFB STI ELECTRON IONIC ENERGY POWER CAPACITOR COMPONENTS HHO EEG STI ELECTROLYTE ENERGY CELL POWER GENERATOR MODULATED 210v-240v AC/DC ELECTROMAGNETIC PULSE PHASE ONE WIRE CURRENT CARRYING 150W MAX 10,000V÷160 COIL UNITS TRANSDUCTOR SYNCHRONOUS AC VOLTAGE STEP-UP TRANSFORMER AC 228HZ OMEGA 3,145,608hz 1 SECOND SUBATOMIC MASS ELECTRODYNAMICS radiation pressures Gauss FORCE WEIGHT 5,000lbs+ MICROWAVES LONGITUDINAL radiation pressures FORCES ARC radiation pressures against ATMOSPHERIC MATTER longitudinal force AGAINST PARTICLES BETWEEN THE MEDIUM RISE PHASES THREE DIMENSIONAL AREA OF FRACTION INDIVIDUAL LIQUID FILLED ENCLOSURE IN SPACE HARMONIC SONIC TUNING BODY ARMOR REACTIVE OSCILLATOR MODULATED ELECTROMOTIVE EMT ELECTROPHORESIS BODY ARMOR OR ACOUSTOPHORESIS BODY ARMOR TRANSDUCER TYPE LINEAR SOLENOID HOLD SENSE TRACTOR OR BEAM IONS ELECTRODYNAMICS DIAMAGNETIC OR PARAMAGNETIC REPULSION against IT'S weight of it's gravity or inertial Mass ELECTROMAGNET BODY ARMOR vector field electrodynamics linear solenoid hold proximity area of fractions GEOPHYSICS suspension ELECTRODYNAMICS ARC sense DIAMAGNETIC MAGNETIZATION PARAMAGNETIC REPULSION FARADAY'S CAGE BODY ARMOR ENCLOSURES EDS ELECTRODYNAMICS ELECTROPHORESIS NUCLEI ENERGY CAPACITOR EFB STI QUARTZ CRYSTALLOID PYROTECHNIC BODY ARMOR ATMOSPHERIC VORTEX ELECTROLYSIS NUCLEAR ENERGY CELL GAS VORTEX AUTOMATIC ELECTROTHERMAL SONIC PULSE IGNITION FIRE SPHERICAL VORTEX STREAM DETONATION BODY ARMOR EXTERIOR OVAL FIRE DENSIFIED PRESSURES FORCES LINEAR LONGITUDINAL COMPRESSION FORCES AGAINST METALLOID BODY ARMOR HELIX MULTIPLE BLEEDER NOZZLE EXTERIOR CENTRAL CORE MANNED UAV ORTHOSIS BIOMETRIC RANGE BRACE BIONIC time machine Skipping momentum ANTIMATTER TRAVELING DECOMPRESSION VACUUMING SUSPENSION OF CONTROLLED MATTER WITHIN ATMOSPHERE VORTEX NEWTRON STAR ENERGY SPEEDS EXCEEDS GEOPHYSICS DECAY MOMENTUM PROCESS avoidance WHENSOEVER traveling ABOVE THE SPEEDS OF SOUND LONGITUDINAL high VELOCITY 2.2%Speed OF LIGHT flight suit TECHNOLOGY

| Back to the future; Wearable electrical circuitry coil phase wire current carrying inductor counterclockwise electrical energy winding quantum vacuum electromagnetic force right hand rule diamagnetic repulsion FARADAY'S LAW OF INDUCTION/ LENZ'S LAW /NEWTON'S THIRD LAW/ EDDY CURRENTS TRANSDUCTOR hypersonic COIL OSCILLATING WIRE SONIC EFFECT RADIATION MICROWAVE PRESSURES ELECTRODYNAMICS ARC or PULSE transonic wire OSCILLATION LONGITUDINAL ELECTROPHORESIS electrodynamics electrolysis SUBATOMIC particle ARC DELTA MASS Gauss WEIGHS 5,000lbs+ MICROWAVES LONGITUDINAL radiation FORCES ARC pressures ATMOSPHERIC MATTER BETWEEN THE MEDIUM RISE ACOUSTOPHORESIS TRACTOR BEAM ELECTRODYNAMICS REPULSION against the weight of it's gravity or inertial Mass ELECTROMAGNET BODY ARMOR vector field electrodynamics linear solenoid hold proximity area of fractions GEOPHYSICS suspension ELECTRODYNAMICS ARC sense DIAMAGNETIC MAGNETIZATION PARAMAGNETIC REPULSION FARADAY'S CAGE BODY ARMOR ENCLOSURES EDS ELECTRODYNAMICS ELECTROPHORESIS NUCLEI ENERGY CAPACITOR EFB STI QUARTZ CRYSTALLOID PYROTECHNIC BODY ARMOR ATMOSPHERIC VORTEX ELECTROLYSIS NUCLEAR ENERGY CELL GAS VORTEX AUTOMATIC ELECTROTHERMAL SONIC PULSE IGNITION FIRE SPHERICAL VORTEX STREAM DETONATION BODY ARMOR EXTERIOR OVAL FIRE DENSIFIED PRESSURES FORCES LINEAR LONGITUDINAL COMPRESSION FORCES AGAINST METALLOID BODY ARMOR HELIX MULTIPLE BLEEDER NOZZLE EXTERIOR CENTRAL CORE MANNED UAV ORTHOSIS BIOMETRIC RANGE BRACE BIONIC time machine Skipping momentum decay avoidance traveling high at speed flight suit TECHNOLOGY IRONMAN MARK 42 FLIGHT SUIT INDUSTRIAL ACTUATOR STRENGTHS HUMAN USER LIFTING AMPLIFIER ORTHOSIS BIOMETRIC RANGE EXTREMITY BIONICS ROBOTICS SUIT MACHINE TECHNOLOGY AERONAUTIC ENGINEERING INTUITIVE INTELLIGENCE PROGRESSIVE DEVELOPMENT SUBJECT NOT LIMITING TO ADDITIONAL SYSTEM OR STRUCTURE SERVO MOTOR POWER FULL BODY LEGGING WALKING SELF BALANCING MOBILITY ELECTROMAGNETIC GYROSCOPE ROTOR MAGNET WHEEL AXIS PROXIMITY FIELD STABILIZING SUIT MACHINE SUCTION GRIPPING VERTICAL BODY CLIMBING CRAWLING BRACE LINEAR SOLENOID EDS BODY ARMOR ACTUATOR WEARABLE MANNED UAV HUMANOID BIOMECHANICS BIOMEDICAL SUBMARINE METALLOID OCTOPUS ROBOTIC BIONIC AIRSHIP MACHINE SUIT DRONE POTENTIAL METRIC RANGE DESIGN INVENTOR JERMAINE MORTON |
Back to the future; Wearable electrical circuitry coil phase wire current carrying inductor counterclockwise electrical energy winding quantum vacuum electromagnetic force right hand rule diamagnetic repulsion FARADAY'S LAW OF INDUCTION/ LENZ'S LAW /NEWTON'S THIRD LAW/ EDDY CURRENTS TRANSDUCTOR hypersonic COIL OSCILLATING WIRE SONIC EFFECT RADIATION MICROWAVE PRESSURES ELECTRODYNAMICS ARC or PULSE transonic wire OSCILLATION LONGITUDINAL ELECTROPHORESIS electrodynamics electrolysis SUBATOMIC particle ARC. BIOMETRIC sectional separate segments range HARMONIC body armor MODULATED EEG 4069hz PERCUSSION TUNING ACTIVE CLOCKING PASSIVE ELECTROMAGNETIC DIAMAGNETIC CRYSTALLOID PYROTECHNIC BODY ARMOR OSCILLATOR TYPE EFB STI ELECTRON IONIC ENERGY POWER CAPACITOR COMPONENTS HHO EEG STI ELECTROLYTE ENERGY CELL POWER GENERATOR MODULATED 210v-240v AC/DC ELECTROMAGNETIC PULSE PHASE ONE WIRE CURRENT CARRYING 150W MAX 10,000V÷160 COIL UNITS TRANSDUCTOR SYNCHRONOUS AC VOLTAGE STEP-UP TRANSFORMER AC 228HZ OMEGA 3,145,608hz 1 SECOND SUBATOMIC MASS ELECTRODYNAMICS radiation pressures Gauss FORCE WEIGHT 5,000lbs+ MICROWAVES LONGITUDINAL radiation pressures FORCES ARC radiation pressures against ATMOSPHERIC MATTER longitudinal force AGAINST PARTICLES BETWEEN THE MEDIUM RISE PHASES THREE DIMENSIONAL AREA OF FRACTION INDIVIDUAL LIQUID FILLED ENCLOSURE IN SPACE HARMONIC SONIC TUNING BODY ARMOR REACTIVE OSCILLATOR MODULATED ELECTROMOTIVE EMT ELECTROPHORESIS BODY ARMOR OR ACOUSTOPHORESIS BODY ARMOR TRANSDUCER TYPE LINEAR SOLENOID HOLD SENSE TRACTOR OR BEAM IONS ELECTRODYNAMICS DIAMAGNETIC OR PARAMAGNETIC REPULSION against IT'S weight of it's gravity or inertial Mass ELECTROMAGNET BODY ARMOR vector field electrodynamics linear solenoid hold proximity area of fractions GEOPHYSICS suspension ELECTRODYNAMICS ARC sense DIAMAGNETIC MAGNETIZATION PARAMAGNETIC REPULSION FARADAY'S CAGE BODY ARMOR ENCLOSURES EDS ELECTRODYNAMICS ELECTROPHORESIS NUCLEI ENERGY CAPACITOR EFB STI QUARTZ CRYSTALLOID PYROTECHNIC BODY ARMOR ATMOSPHERIC VORTEX ELECTROLYSIS NUCLEAR ENERGY CELL GAS VORTEX AUTOMATIC ELECTROTHERMAL SONIC PULSE IGNITION FIRE SPHERICAL VORTEX STREAM DETONATION BODY ARMOR EXTERIOR OVAL FIRE DENSIFIED PRESSURES FORCES LINEAR LONGITUDINAL COMPRESSION FORCES AGAINST METALLOID BODY ARMOR HELIX MULTIPLE BLEEDER NOZZLE EXTERIOR CENTRAL CORE MANNED UAV ORTHOSIS BIOMETRIC RANGE BRACE BIONIC time machine Skipping momentum ANTIMATTER TRAVELING DECOMPRESSION VACUUMING SUSPENSION OF CONTROLLED MATTER WITHIN ATMOSPHERE VORTEX NEWTRON STAR ENERGY SPEEDS EXCEEDS GEOPHYSICS DECAY MOMENTUM PROCESS avoidance WHENSOEVER traveling ABOVE THE SPEEDS OF SOUND LONGITUDINAL high VELOCITY 2.2%Speed OF LIGHT flight suit TECHNOLOGY
IRONMAN MARK 42 FLIGHT SUIT INDUSTRIAL ACTUATOR STRENGTHS HUMAN USER LIFTING AMPLIFIER ORTHOSIS BIOMETRIC RANGE EXTREMITY BIONICS ROBOTICS SUIT MACHINE TECHNOLOGY AERONAUTIC ENGINEERING INTUITIVE INTELLIGENCE PROGRESSIVE DEVELOPMENT SUBJECT NOT LIMITING TO ADDITIONAL SYSTEM OR STRUCTURE SERVO MOTOR POWER FULL BODY LEGGING WALKING SELF BALANCING MOBILITY ELECTROMAGNETIC GYROSCOPE ROTOR MAGNET WHEEL AXIS PROXIMITY FIELD STABILIZING SUIT MACHINE SUCTION GRIPPING VERTICAL BODY CLIMBING CRAWLING BRACE LINEAR SOLENOID EDS BODY ARMOR ACTUATOR WEARABLE MANNED UAV HUMANOID BIOMECHANICS BIOMEDICAL SUBMARINE METALLOID OCTOPUS ROBOTIC BIONIC AIRSHIP MACHINE SUIT DRONE POTENTIAL METRIC RANGE DESIGN INVENTOR JERMAINE MORTON
Back to the future; Wearable electrical circuitry coil phase wire current carrying inductor counterclockwise electrical energy winding quantum vacuum electromagnetic force right hand rule diamagnetic repulsion FARADAY'S LAW OF INDUCTION/ LENZ'S LAW /NEWTON'S THIRD LAW/ EDDY CURRENTS TRANSDUCTOR hypersonic COIL OSCILLATING WIRE SONIC EFFECT RADIATION MICROWAVE PRESSURES ELECTRODYNAMICS ARC or PULSE transonic wire OSCILLATION LONGITUDINAL ELECTROPHORESIS electrodynamics electrolysis SUBATOMIC particle ARC. BIOMETRIC sectional separate segments range HARMONIC body armor MODULATED EEG 4069hz PERCUSSION TUNING ACTIVE CLOCKING PASSIVE ELECTROMAGNETIC DIAMAGNETIC CRYSTALLOID PYROTECHNIC BODY ARMOR OSCILLATOR TYPE EFB STI ELECTRON IONIC ENERGY POWER CAPACITOR COMPONENTS HHO EEG STI ELECTROLYTE ENERGY CELL POWER GENERATOR MODULATED 210v-240v AC/DC ELECTROMAGNETIC PULSE PHASE ONE WIRE CURRENT CARRYING 150W MAX 10,000V÷160 COIL UNITS TRANSDUCTOR SYNCHRONOUS AC VOLTAGE STEP-UP TRANSFORMER AC 228HZ OMEGA 3,145,608hz 1 SECOND SUBATOMIC MASS ELECTRODYNAMICS radiation pressures Gauss FORCE WEIGHT 5,000lbs+ MICROWAVES LONGITUDINAL radiation pressures FORCES ARC radiation pressures against ATMOSPHERIC MATTER longitudinal force AGAINST PARTICLES BETWEEN THE MEDIUM RISE PHASES THREE DIMENSIONAL AREA OF FRACTION INDIVIDUAL LIQUID FILLED ENCLOSURE IN SPACE HARMONIC SONIC TUNING BODY ARMOR REACTIVE OSCILLATOR MODULATED ELECTROMOTIVE EMT ELECTROPHORESIS BODY ARMOR OR ACOUSTOPHORESIS BODY ARMOR TRANSDUCER TYPE LINEAR SOLENOID HOLD SENSE TRACTOR OR BEAM IONS ELECTRODYNAMICS DIAMAGNETIC OR PARAMAGNETIC REPULSION against IT'S weight of it's gravity or inertial Mass ELECTROMAGNET BODY ARMOR vector field electrodynamics linear solenoid hold proximity area of fractions GEOPHYSICS suspension ELECTRODYNAMICS ARC sense DIAMAGNETIC MAGNETIZATION PARAMAGNETIC REPULSION FARADAY'S CAGE BODY ARMOR ENCLOSURES EDS ELECTRODYNAMICS ELECTROPHORESIS NUCLEI ENERGY CAPACITOR EFB STI QUARTZ CRYSTALLOID PYROTECHNIC BODY ARMOR ATMOSPHERIC VORTEX ELECTROLYSIS NUCLEAR ENERGY CELL GAS VORTEX AUTOMATIC ELECTROTHERMAL SONIC PULSE IGNITION FIRE SPHERICAL VORTEX STREAM DETONATION BODY ARMOR EXTERIOR OVAL FIRE DENSIFIED PRESSURES FORCES LINEAR LONGITUDINAL COMPRESSION FORCES AGAINST METALLOID BODY ARMOR HELIX MULTIPLE BLEEDER NOZZLE EXTERIOR CENTRAL CORE MANNED UAV ORTHOSIS BIOMETRIC RANGE BRACE BIONIC time machine Skipping momentum ANTIMATTER TRAVELING DECOMPRESSION VACUUMING SUSPENSION OF CONTROLLED MATTER WITHIN ATMOSPHERE VORTEX NEWTRON STAR ENERGY SPEEDS EXCEEDS GEOPHYSICS DECAY MOMENTUM PROCESS avoidance WHENSOEVER traveling ABOVE THE SPEEDS OF SOUND LONGITUDINAL high VELOCITY 2.2%Speed OF LIGHT flight suit TECHNOLOGY
Back to the future; Wearable electrical circuitry coil phase wire current carrying inductor counterclockwise electrical energy winding quantum vacuum electromagnetic force right hand rule diamagnetic repulsion FARADAY'S LAW OF INDUCTION/ LENZ'S LAW /NEWTON'S THIRD LAW/ EDDY CURRENTS TRANSDUCTOR hypersonic COIL OSCILLATING WIRE SONIC EFFECT RADIATION MICROWAVE PRESSURES ELECTRODYNAMICS ARC or PULSE transonic wire OSCILLATION LONGITUDINAL ELECTROPHORESIS electrodynamics electrolysis SUBATOMIC particle ARC. BIOMETRIC sectional separate segments range HARMONIC body armor MODULATED EEG 4069hz PERCUSSION TUNING ACTIVE CLOCKING PASSIVE ELECTROMAGNETIC DIAMAGNETIC CRYSTALLOID PYROTECHNIC BODY ARMOR OSCILLATOR TYPE EFB STI ELECTRON IONIC ENERGY POWER CAPACITOR COMPONENTS HHO EEG STI ELECTROLYTE ENERGY CELL POWER GENERATOR MODULATED 210v-240v AC/DC ELECTROMAGNETIC PULSE PHASE ONE WIRE CURRENT CARRYING 150W MAX 10,000V÷160 COIL UNITS TRANSDUCTOR SYNCHRONOUS AC VOLTAGE STEP-UP TRANSFORMER AC 228HZ OMEGA 3,145,608hz 1 SECOND SUBATOMIC MASS ELECTRODYNAMICS radiation pressures Gauss FORCE WEIGHT 5,000lbs+ MICROWAVES LONGITUDINAL radiation pressures FORCES ARC radiation pressures against ATMOSPHERIC MATTER longitudinal force AGAINST PARTICLES BETWEEN THE MEDIUM RISE PHASES THREE DIMENSIONAL AREA OF FRACTION INDIVIDUAL LIQUID FILLED ENCLOSURE IN SPACE HARMONIC SONIC TUNING BODY ARMOR REACTIVE OSCILLATOR MODULATED ELECTROMOTIVE EMT ELECTROPHORESIS BODY ARMOR OR ACOUSTOPHORESIS BODY ARMOR TRANSDUCER TYPE LINEAR SOLENOID HOLD SENSE TRACTOR OR BEAM IONS ELECTRODYNAMICS DIAMAGNETIC OR PARAMAGNETIC REPULSION against IT'S weight of it's gravity or inertial Mass ELECTROMAGNET BODY ARMOR vector field electrodynamics linear solenoid hold proximity area of fractions GEOPHYSICS suspension ELECTRODYNAMICS ARC sense DIAMAGNETIC MAGNETIZATION PARAMAGNETIC REPULSION FARADAY'S CAGE BODY ARMOR ENCLOSURES EDS ELECTRODYNAMICS ELECTROPHORESIS NUCLEI ENERGY CAPACITOR EFB STI QUARTZ CRYSTALLOID PYROTECHNIC BODY ARMOR ATMOSPHERIC VORTEX ELECTROLYSIS NUCLEAR ENERGY CELL GAS VORTEX AUTOMATIC ELECTROTHERMAL SONIC PULSE IGNITION FIRE SPHERICAL VORTEX STREAM DETONATION BODY ARMOR EXTERIOR OVAL FIRE DENSIFIED PRESSURES FORCES LINEAR LONGITUDINAL COMPRESSION FORCES AGAINST METALLOID BODY ARMOR HELIX MULTIPLE BLEEDER NOZZLE EXTERIOR CENTRAL CORE MANNED UAV ORTHOSIS BIOMETRIC RANGE BRACE BIONIC time machine Skipping momentum ANTIMATTER TRAVELING DECOMPRESSION VACUUMING SUSPENSION OF CONTROLLED MATTER WITHIN ATMOSPHERE VORTEX NEWTRON STAR ENERGY SPEEDS EXCEEDS GEOPHYSICS DECAY MOMENTUM PROCESS avoidance WHENSOEVER traveling ABOVE THE SPEEDS OF SOUND LONGITUDINAL high VELOCITY 2.2%Speed OF LIGHT flight suit TECHNOLOGY
IRONMAN MARK 42 FLIGHT SUIT INDUSTRIAL ACTUATOR STRENGTHS HUMAN USER LIFTING AMPLIFIER ORTHOSIS BIOMETRIC RANGE EXTREMITY BIONICS ROBOTICS SUIT MACHINE TECHNOLOGY AERONAUTIC ENGINEERING INTUITIVE INTELLIGENCE PROGRESSIVE DEVELOPMENT SUBJECT NOT LIMITING TO ADDITIONAL SYSTEM OR STRUCTURE SERVO MOTOR POWER FULL BODY LEGGING WALKING SELF BALANCING MOBILITY ELECTROMAGNETIC GYROSCOPE ROTOR MAGNET WHEEL AXIS PROXIMITY FIELD STABILIZING SUIT MACHINE SUCTION GRIPPING VERTICAL BODY CLIMBING CRAWLING BRACE LINEAR SOLENOID EDS BODY ARMOR ACTUATOR WEARABLE MANNED UAV HUMANOID BIOMECHANICS BIOMEDICAL SUBMARINE METALLOID OCTOPUS ROBOTIC BIONIC AIRSHIP MACHINE SUIT DRONE POTENTIAL METRIC RANGE DESIGN INVENTOR JERMAINE MORTON
https://www.flymorton.com
https://www.flymorton.com
AERONAUTIC ENGINEERING
IRONMAN MARK 42 SUIT MANNED UAV FULL BODY LINEAR SOLENOID EMS EDS METALLOID HARD SUIT ARMORED ORTHOSIS BIOMETRIC RANGE BIAXIAL ROM BRACE MOBILITY WALKING WEARABLE HUMANOID DRONE SUBJECT NOT LIMITING TO ADDITIONAL SYSTEM OR STRUCTURE POTENTIOMETRIC RANGE DESIGN INVENTOR JERMAINE MORTON
AERONAUTIC ENGINEERING
IRONMAN MARK 42 BODY ARMOR AC/DC);PHASE DIAMAGNETIC SYNCHRONOUS PHASE PARAMAGNETIC BODY ARMOR REPULSION SUIT SYSTEM ACTIVE EDF/EDS/ELECTRODYNAMICS INTELLIGENCE
imperial college London
professor Eric Laithwaithe
MAGNETIC RIVER 1975
https://youtu.be/OI_HFnNTfyU
AERONAUTIC ENGINEERING
IRONMAN MARK 42 BODY ARMOR PERMANENT MAGNET POLARIZATION REPULSION OR FERROMAGNETIC BODY ARMOR REPULSION SUIT SUBSYSTEM ACTIVE EMF/EML/ELECTRODYNAMICS INTELLIGENCE
professor Eric Laithwaithe
Big and small motor
https://youtu.be/oWiYsRi2Dss
AERONAUTIC ENGINEERING
IRONMAN MARK 42 BODY ARMOR AC/DC);PHASE PARAMAGNETIC BODY ARMOR REPULSION SUIT EDF/EDS/ELECTRODYNAMICS INTELLIGENCE
professor Eric Laithwaithe
forces of induction 1969
https://youtu.be/PAAfFgyWvB4
AERONAUTIC ENGINEERING
IRONMAN MARK 42 BODY ARMOR AC/DC);PHASE DIAMAGNETIC SYNCHRONOUS PHASE PARAMAGNETIC BODY ARMOR VECTOR FIELD SYNCHRONOUS PHASE PERMANENT MAGNETBODY ARMOR REPULSION ROTARY (GIT) SUIT EDF/EDS/ELECTRODYNAMICS INTELLIGENCE
professor Eric Laithwaithe
give a demonstration of a large gyro wheel
https://youtu.be/JRPC7a_AcQo
AERONAUTIC ENGINEERING
IRONMAN MARK 42 ELECTRON CAPACITIVE BODY ARMOR AC/DC);PHASE DIAMAGNETIC BODY ARMOR SYNCHRONOUS PHASE PARAMAGNETIC BODY ARMOR SYNCHRONOUS PHASE PERMANENT MAGNET BODY ARMOR REPULSION SUIT EDF/EDS/ELECTROMAGNETIC REPULSION FORCE
(ARF) ACOUSTIC RADIATION FORCE
LONGITUDE ELECTRODYNAMICS
INTELLIGENCE
professor Eric Laithwaithe
shaping things to come
https://youtu.be/f5mA4l6xmGs
AERONAUTIC ENGINEERING
IRONMAN MARK 42 ELECTRON CAPACITIVE BODY ARMOR AC/DC);PHASE DIAMAGNETIC BODY ARMOR SYNCHRONOUS PHASE PARAMAGNETIC SYNCHRONOUS PHASE PERMANENT MAGNET BODY ARMOR REPULSION SUIT EDF/EDS/BODY ARMOR ELECTRODYNAMICS INTELLIGENCE WEARABLE MANNED UAV ACTUATOR FLIGHT worthiness POTENTIOMETRIC RANGE
professor Eric Laithwaithe
plate levitator uncut footage
https://youtu.be/fmrJiqZK6MY
P
problem solved
Primary weight of the COIL(DC) Phase source of transmission COIL TURNS WEBER
weighs more than the inertial mass,
PROBLEM SOLVED
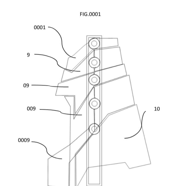
TRIPLE TRANSMISSION SOURCE (DC)PHASE CHARGE IRON KNOWN AS AN MAGNETIC FLUX CORE COMMONLY SYNCHRONOUS AC PHASED BARING TRANSDUCTOR COIL FOR MAGNETIZATION TYPE SOLENOID HALL EFFECT SENSE CORE CENTRAL COPPER COIL ACTIVE DIRECT CURRENT CHARGE AND DC): PHASE CHARGE COMMON ELEMENTS LOCALIZED WITHIN VECTOR FIELD DC CHARGE PHASE COMMON ELEMENT EMITS ELECTROMAGNETIC FORCE DIAMAGNETIC TRANSMISSION AGAINST DC PHASE CHARGE PARAMAGNETIC ELEMENTS
COMPONENTS TRANSMITS IONIC POSITIVE CHARGE PARTICLES COMMON POSITIVE ORBITAL ELECTRON ROTATION GYROSCOPE POSSESSION TYPE QUANTUM VACUUM SPINNING PARALLEL ALIGNMENT ACTIVE DISPLACEMENT PARTICLES RADIATION FORCES PRESSURES AGAINST OPPOSING PARTICLES PRESSURES REACTIVE QUANTUM REPULSION BETWEEN PARTICLES THAT ARE EMITS FROM COMMON ELEMENT LENZ'S LAW PHASE RIGHT HAND RULE PHASE END OF SOURCE OF TRANSMISSION
TESLA'S COIL TURNS magnetic flux WEBER
FARADAYS LAW OF INDUCTION
LENZ'S LAW
NEWTON'S LAW OF FORCE
LORENTZ LAW OF FORCE
MAGLEV WAY
Electromagnetic force
ACOUSTOPHORESIS
(ARF)Acoustic radiation forces
longitude ionic electrodynamics
ELECTROLYSIS
ELECTROPHORESIS STI EFB SPLITTER
NUCLEAR ENERGY
ULTRA CAPACITIVE CELL CYCLING
EFB
NUCLEAR FORCE
FARADAYS CAGE
intelligence analysis solution
Common Magnetic polarization Repulsion Improvements are (direct phase) both common or magnetic components broadening wavelength of common elements vector field betterment of contemporary self-repulsive systems
TESLA'S COIL TURNS MAGNETIC FLUX DENSITY WEBER
MAXWELL LAW OF INDUCTION
FARADAYS LAW OF INDUCTION
LENZ'S LAW
NEWTON'S LAW FORCE
LORENTZ LAW OF FORCE
MAGLEV WAY
ELECTROMAGNETIC FORCE
ACOUSTOPHORESIS
(ARF) ACOUSTIC RADIATION FORCES
LONGITUDE IONIC ELECTRODYNAMICS
SYNCHRONOUS PHASE ELECTROLYSIS
ELECTROPHORESIS SPLITTER
NUCLEAR ENERGY
ULTRA CAPACITIVE ENERGY CYCLING
EFB ELECTRON FINITE BATTERY
NUCLEAR FORCE
FARADAYS CAGE
Aeronautic engineering intuitive intelligence progressive development wearable UAV bionics subject not limiting to additional system or structure potentiometric range design inventor Jermaine Morton
Aeronautic engineering intuitive intelligence progressive development wearable UAV bionics subject not limiting to additional system or structure potentiometric range design inventor Jermaine Morton
https://www.flymorton.com
AERONAUTIC ENGINEERING
IRONMAN MARK 42 SUIT MANNED UAV FULL BODY LINEAR SOLENOID EMS EDS METALLOID HARD SUIT ARMORED ORTHOSIS BIOMETRIC RANGE BIAXIAL ROM BRACE MOBILITY WALKING WEARABLE HUMANOID DRONE SUBJECT NOT LIMITING TO ADDITIONAL SYSTEM OR STRUCTURE POTENTIOMETRIC RANGE DESIGN INVENTOR JERMAINE MORTON
AERONAUTIC ENGINEERING
IRONMAN MARK 42 BODY ARMOR AC/DC);PHASE DIAMAGNETIC SYNCHRONOUS PHASE PARAMAGNETIC BODY ARMOR REPULSION SUIT SYSTEM ACTIVE EDF/EDS/ELECTRODYNAMICS INTELLIGENCE
imperial college London
professor Eric Laithwaithe
MAGNETIC RIVER 1975
https://youtu.be/OI_HFnNTfyU
AERONAUTIC ENGINEERING
IRONMAN MARK 42 BODY ARMOR PERMANENT MAGNET POLARIZATION REPULSION OR FERROMAGNETIC BODY ARMOR REPULSION SUIT SUBSYSTEM ACTIVE EMF/EML/ELECTRODYNAMICS INTELLIGENCE
professor Eric Laithwaithe
Big and small motor
https://youtu.be/oWiYsRi2Dss
AERONAUTIC ENGINEERING
IRONMAN MARK 42 BODY ARMOR AC/DC);PHASE PARAMAGNETIC BODY ARMOR REPULSION SUIT EDF/EDS/ELECTRODYNAMICS INTELLIGENCE
professor Eric Laithwaithe
forces of induction 1969
https://youtu.be/PAAfFgyWvB4
AERONAUTIC ENGINEERING
IRONMAN MARK 42 BODY ARMOR AC/DC);PHASE DIAMAGNETIC SYNCHRONOUS PHASE PARAMAGNETIC BODY ARMOR VECTOR FIELD SYNCHRONOUS PHASE PERMANENT MAGNETBODY ARMOR REPULSION ROTARY (GIT) SUIT EDF/EDS/ELECTRODYNAMICS INTELLIGENCE
professor Eric Laithwaithe
give a demonstration of a large gyro wheel
https://youtu.be/JRPC7a_AcQo
AERONAUTIC ENGINEERING
IRONMAN MARK 42 ELECTRON CAPACITIVE BODY ARMOR AC/DC);PHASE DIAMAGNETIC BODY ARMOR SYNCHRONOUS PHASE PARAMAGNETIC BODY ARMOR SYNCHRONOUS PHASE PERMANENT MAGNET BODY ARMOR REPULSION SUIT EDF/EDS/ELECTROMAGNETIC REPULSION FORCE
(ARF) ACOUSTIC RADIATION FORCE
LONGITUDE ELECTRODYNAMICS
INTELLIGENCE
professor Eric Laithwaithe
shaping things to come
https://youtu.be/f5mA4l6xmGs
AERONAUTIC ENGINEERING
IRONMAN MARK 42 ELECTRON CAPACITIVE BODY ARMOR AC/DC);PHASE DIAMAGNETIC BODY ARMOR SYNCHRONOUS PHASE PARAMAGNETIC SYNCHRONOUS PHASE PERMANENT MAGNET BODY ARMOR REPULSION SUIT EDF/EDS/BODY ARMOR ELECTRODYNAMICS INTELLIGENCE WEARABLE MANNED UAV ACTUATOR FLIGHT worthiness POTENTIOMETRIC RANGE
professor Eric Laithwaithe
plate levitator uncut footage
https://youtu.be/fmrJiqZK6MY
P
problem solved
Primary weight of the COIL(DC) Phase source of transmission COIL TURNS WEBER
weighs more than the inertial mass,
PROBLEM SOLVED
TRIPLE TRANSMISSION SOURCE (DC)PHASE CHARGE IRON KNOWN AS AN MAGNETIC FLUX CORE COMMONLY SYNCHRONOUS AC PHASED BARING TRANSDUCTOR COIL FOR MAGNETIZATION TYPE SOLENOID HALL EFFECT SENSE CORE CENTRAL COPPER COIL ACTIVE DIRECT CURRENT CHARGE AND DC): PHASE CHARGE COMMON ELEMENTS LOCALIZED WITHIN VECTOR FIELD DC CHARGE PHASE COMMON ELEMENT EMITS ELECTROMAGNETIC FORCE DIAMAGNETIC TRANSMISSION AGAINST DC PHASE CHARGE PARAMAGNETIC ELEMENTS
COMPONENTS TRANSMITS IONIC POSITIVE CHARGE PARTICLES COMMON POSITIVE ORBITAL ELECTRON ROTATION GYROSCOPE POSSESSION TYPE QUANTUM VACUUM SPINNING PARALLEL ALIGNMENT ACTIVE DISPLACEMENT PARTICLES RADIATION FORCES PRESSURES AGAINST OPPOSING PARTICLES PRESSURES REACTIVE QUANTUM REPULSION BETWEEN PARTICLES THAT ARE EMITS FROM COMMON ELEMENT LENZ'S LAW PHASE RIGHT HAND RULE PHASE END OF SOURCE OF TRANSMISSION
TESLA'S COIL TURNS magnetic flux WEBER
FARADAYS LAW OF INDUCTION
LENZ'S LAW
NEWTON'S LAW OF FORCE
LORENTZ LAW OF FORCE
MAGLEV WAY
Electromagnetic force
ACOUSTOPHORESIS
(ARF)Acoustic radiation forces
longitude ionic electrodynamics
ELECTROLYSIS
ELECTROPHORESIS STI EFB SPLITTER
NUCLEAR ENERGY
ULTRA CAPACITIVE CELL CYCLING
EFB
NUCLEAR FORCE
FARADAYS CAGE
intelligence analysis solution
Common Magnetic polarization Repulsion Improvements are (direct phase) both common or magnetic components broadening wavelength of common elements vector field betterment of contemporary self-repulsive systems
TESLA'S COIL TURNS MAGNETIC FLUX DENSITY WEBER
MAXWELL LAW OF INDUCTION
FARADAYS LAW OF INDUCTION
LENZ'S LAW
NEWTON'S LAW FORCE
LORENTZ LAW OF FORCE
MAGLEV WAY
ELECTROMAGNETIC FORCE
ACOUSTOPHORESIS
(ARF) ACOUSTIC RADIATION FORCES
LONGITUDE IONIC ELECTRODYNAMICS
SYNCHRONOUS PHASE ELECTROLYSIS
ELECTROPHORESIS SPLITTER
NUCLEAR ENERGY
ULTRA CAPACITIVE ENERGY CYCLING
EFB ELECTRON FINITE BATTERY
NUCLEAR FORCE
FARADAYS CAGE
imperial college London
professor Eric Laithwaithe
MAGNETIC RIVER 1975
https://youtu.be/OI_HFnNTfyU
SWITCHING BETWEEN COMMON ELECTRICAL SEPARATE CIRCUITRY ELEMENTS DIAMAGNETIC TRANSDUCTOR COPPER FOIL COIL CAPACITOR VOLTAGE TRANSFORMER DC/AC ELECTRODYNAMICS
PARAMAGNETIC TRANSDUCTOR ALUMINUM FOIL COIL CAPACITOR VOLTAGE TRANSFORMER DC/AC/DC TRANSDUCTION MAINTAINING BELOW ZERO DEGREE LOW GAUGE MAXIMUM VOLTAGE RATED ELECTRODYNAMICS
BORON WIRE COIL DC/AC TRANSDUCTOR ELECTROMAGNETISM VOLTAGE TRANSFORMER ELECTROMOTIVE SYNCHRONOUS AC ELECTROMAGNETIC FLUX DENSITY WEBER)
LOW TEMPERATURE DC/AC/TRANSDUCTION MAINTAINING BELOW MAXIMUM VOLTAGE RATE
LAW FACTS
#1)publication copyright last
As a general rule, for works created after January 1, 1978, copyright protection lasts for the life of the author plus an additional 70 years.
#2) An invention is considered published if it forms "part of the state of the art." In the United States and most other countries, the state of the art is defined as "everything made available to even one member of the public anywhere in the world by means of a written or, visually displayed oral description
publication of patent application makes the entire file history of a patent application public and available for downloading through public PAIR.
#3) According to U.S. law, a patent cannot be obtained if an invention was previously known or used by other people in the U.S., or was already patented or published anywhere in the world.
#4) publish copyrighted material
Uploading or downloading works protected by copyright without the authority of the copyright owner is an infringement of the copyright owner's exclusive rights of reproduction and/or distribution. Copyright covers both published and unpublished works. #5)copyright protect Copyright, a form of intellectual property law, protects original works of authorship including literary, dramatic, musical, and artistic works, such as poetry, novels, movies, songs, computer software, and architecture. Publishing rights are not the same as copyright.#6) The copyright belongs to the original creator of the book, which is determined by a contract between the publisher and the author. The publishing rights are given to others by the copyright owner, allowing them to reproduce the work.#7) However fair use may occur exceptions to copyright
Fair use of copyrighted works, as stated in US copyright law, “for purposes such as criticism, comment, news reporting, teaching (including multiple copies for classroom use), scholarship, or research, is not an infringement of copyright.”
#8) The Pinkerton rule
determines when an individual can be convicted of a substantive crime they didn't directly commit. It upholds that all conspiracy members are liable for their co-conspirators' substantive crimes intended to further the conspiracy
#9) conspiracy
is when two or more people work together to plan and perform an illegal act
#10) conspiracy a secret plan by a group to do something unlawful
sentences ranging up to 40 years, conspiracy conviction
#11)18 U.S. Code Chapter 105 - SABOTAGE
intent or purposely, general intent or knowingly, or negligent intent
destruction: where action involved the destruction of work
#12)inaction: where as a result of deliberate inaction predictable destruction occurred of work
the act of intentionally trying to stop someone from achieving something or to stop something from developing.
#13) Trade secrets are protected by a combination of state and federal laws, which prescribe a combination of civil and criminal penalties for trade secret “misappropriation”—the improper acquisition, disclosure, or use of a trade secret
#14) The DTSA allows an owner of a trade secret to sue in federal court when seeking relief for trade secret misappropriation related to a product or service in interstate or foreign commerce, and does not preempt any state law
Trade secret infringement is called “misappropriation.” It occurs when someone improperly acquires a trade secret or improperly discloses or uses a trade secret without consent or with having reason to know that knowledge of the trade secret was acquired through a mistake or accident
The plaintiff in a trade-secret case lawsuit must prove three facts: (1) it has some valuable business information that it has kept secret; (2) the information is not generally known; and (3) the defendant has used that secret. A defendant may attack each showing, but some attacks are better than others.
The plaintiff has the burden to establish how the defendant allegedly acquired, disclosed and used the alleged trade secret without authorization.
According to the Economic Espionage Act of 1996, stealing trade secrets can be prosecuted as a state and federal crime.
Economic Espionage Act of 1996 (outlined in Title 18, Part I, Chapter 90 of the U.S. Code) and also fall under state jurisdiction. As a result of a 1974 ruling, each state may adopt its own trade secret rules.
misappropriation of a trade secret
the National Information Infrastructure Protection Act
scrambling technology,
The act makes the theft or misappropriation of a trade secret a federal crime.
the offense involves commercial information, not classified or national defense information.
Criminalizes the misappropriation of trade secrets (including conspiracy to misappropriate trade secrets and the subsequent acquisition of such misappropriated trade secrets) with the knowledge or intent that the theft will benefit a foreign government or entity. Penalties for violation
Criminalizes the misappropriation of trade secrets related to or included in a product that is produced for or placed in interstate (including international) commerce, with the knowledge or intent that the misappropriation will injure the owner of the trade secret.


































































































































































































-page-005.jpg)

Comments
Post a Comment